特徴
- 650fs以下(標準値)の超低RMS位相ジッタ
- ±20ppm、±25ppm、±50ppmの高安定性
- 広い温度範囲
- -40°C~+125°C(自動車、DSC12x3 LVDSのみ)
- -40°C~+105°C(拡張工業)
- -40°C~+85°C(工業)
- -20°C~+70°C(商業)
- LVPECL、LVDS、またはHCSL差動出力をサポート
- PCIe Gen1-5に準拠した出力
- 2.5MHz~450MHzの広い周波数範囲
- 小型業界標準フットプリント
- 2.5mm x 2.0mm
- 3.2mm x 2.5mm
- 5.0mm x 3.2mm
- 7.0mm x 5.0mm
- 優れた衝撃と振動耐性
- MIL-STD-883の認定済
- 信頼性が高い
- - クォーツ発振器より20倍優れたMTF
- 2.25V~3.63Vの電源範囲
- 待機、周波数選択、出力イネーブル機能
- リードフリー、RoHS準拠
アプリケーション
- ストレージエリアネットワーク
- パッシブ光ネットワーク
- 10/100Gイーサネット
- HD/SD/SDIビデオおよび監視
- PCI Express Gen 1/2/3/4
- ディスプレイ・ポート
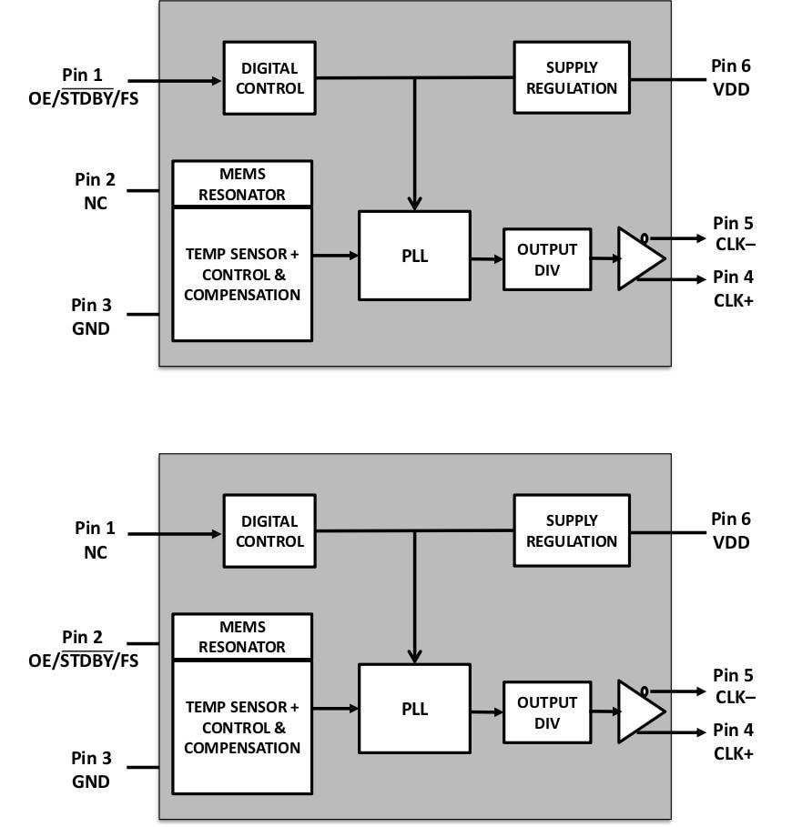
ブロック図
公開: 2022-10-03
| 更新済み: 2022-10-04

