Microchip Technology dsPIC33EP GSデジタルシグナルコントローラ
Microchip dsPIC33EP GSデジタル信号コントローラ(DSC)は、70 MIPS dsPIC® DSCコアが特徴で、統合DSPおよび拡張オンチップ周辺機器が備わっています。これらのDSCは、より高いスイッチング周波数でのより洗練された非線形、予測、適応制御アルゴリズムを実装するために必要な性能を供給するように設計されています。これらの高度なアルゴリズムによって、よりエネルギー効率が高く、より良い電源仕様の電源設計が可能です。より高いスイッチング周波数によって、より高密度で低コストの物理的に小型の電源開発が可能です。dsPIC33EP GS DSCには、Live Updateフラッシュ機能といった高度な特徴が含まれており、特に高可用性システムや「常時接続」システムに役立ちます。ライブアップデートを使用して、連続的な調整を維持しながら、アクティブ補償器の計算コードを始めとする動作中の電源装置のファームウェアを変更できます。 dsPIC33EP GSシリーズは、最大22ADC入力の12ビットADCを5つまで備えられます。これらのデバイスには、高精度な設計のため、4つのアナログコンパレータのそれぞれに12ビットDACを搭載しています。2つのオンチッププログラマブルゲインアンプは、電流センシングおよびその他の高精度測定に使用できます。これらの高度なアナログアンプをデバイスに搭載することで、必要な外付部品が削減され、コストとボードスペースを節約できます。The Microchip Technology dsPIC33EP GS DSCs include advanced features such as Live Update Flash capability, which is especially helpful for high-availability or "always-on" systems. Live Update can be used to change the firmware of an operating power supply, including the active compensator calculation code while maintaining continuous regulation.
The dsPIC33EP GS series features up to five 12-bit ADCs with as many as 22 ADC inputs. These devices also include 12-bit DACs for each of the four analog comparators, for higher-precision designs. Two on-chip programmable gain amplifiers can be used for current sensing and other precision measurements. Including these advanced analog amplifiers on the device reduces the number of external components required, thereby saving costs and board space.
特徴
- 16-Bit dsPIC33E CPU Core
- Operating Conditions
- 3.0V to 3.6V, -40°C to +85°C, DC to 70 MIPS
- 3.0V to 3.6V, -40°C to +125°C, DC to 60 MIPS
- Clock Management
- ±0.9% Internal Oscillator
- Programmable PLLs and Oscillator Clock Sources
- Fail-Safe Clock Monitor (FSCM)
- Independent Watchdog Timer (WDT)
- Fast Wake-up and Start-up
- Power Management
- Low-Power Management modes (Sleep, Idle, Doze)
- Integrated Power-on Reset and Brown-out Reset
- 0.5mA/MHz Dynamic Current (typical)
- 20μA IPD Current (typical)
- High-Speed PWM
- Eight PWM Generators (two outputs per generator)
- Individual Time Base and Duty Cycle for each PWM
- Advanced Analog Features
- High-Speed ADC module
- 12-bit with 4 dedicated SAR ADC cores and one shared SAR ADC core
- Four Rail-to-Rail Comparators with Hysteresis
- Two Programmable Gain Amplifiers
- Interconnected SMPS Peripherals
- Five 16-bit and up to Two 32-bit Timers/Counters
- 2x UART modules
- 3x Variable Width SPI modules
- 2x I2C modules with SMBus Support
- Up to 2 CAN modules
- Up to 128Kb program memory
- Debugger Development Support
- AEC-Q100 REVG (Grade 1, -40°C to +125°C)
- Class B Safety Library, IEC 60730
- Multiple case options for design flexibility
- 28, 44, 48, 64, and 80 pin/lead
- SPOIC, QFN, QFN-S, UQFN, and TQFP packages
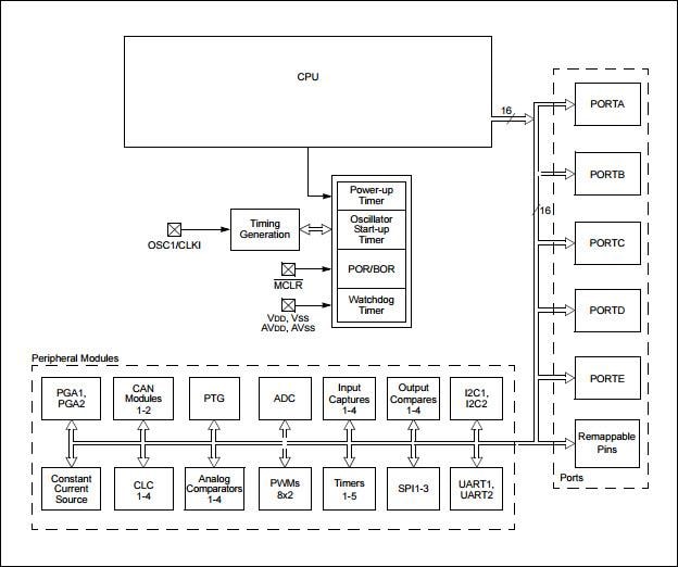
Block Diagram
