Microchip Technology EMC1414マルチチャンネル温度センサ
Microchip Technology EMC1414マルチチャンネル温度センサは、高精度および低コストのシステム管理バス(SMBus)温度センサです。The EMC1414 temperature sensors monitor four temperature channels and provide ±1°C accuracy for diode temperature. これらのマルチチャンネル温度センサは、抵抗エラー訂正(REC)、ベータ補償、自動ダイオードタイプ検出が特徴で、複雑な環境モニタリング・アプリケーションを対象とした堅牢なソリューションを実現しています。EMC1414温度センサは、ノートブックコンピュータ、デスクトップコンピュータ、工業、組み込みアプリケーションでの使用に最適です。特徴
- プログラマブルSMBusアドレス
- BJTまたはトランジスタ・モデルを必要とするダイオードへのサポート
- 45nm、65nm、90nm CPU熱ダイオードに対応
- 外部ダイオードのタイプと最適な設定を自動的に判断
- Resistance Error Correction (REC)
- 最大3台の外部温度モニタ:
- ±1°C max accuracy (20°C < TDIODE < 110°C)
- 0.125°Cの分解能
- 最大2.2nFのダイオードフィルタコンデンサに対応
- さらなるダイオードのサポートのための逆並列ダイオード
- 内部温度モニタ:
- ±1°C精度
- 0.125°Cの分解能
- 供給電圧: 3.3V
- ALERTを対象としたプログラマブル温度制限
- これらの無鉛RoHS準拠パッケージでご用意あり:
- 10ピン3mm x 3mm DFN
- 10ピンMSOP
アプリケーション
- ノートブックコンピュータ
- デスクトップコンピュータ
- 産業用
- 組み込み式
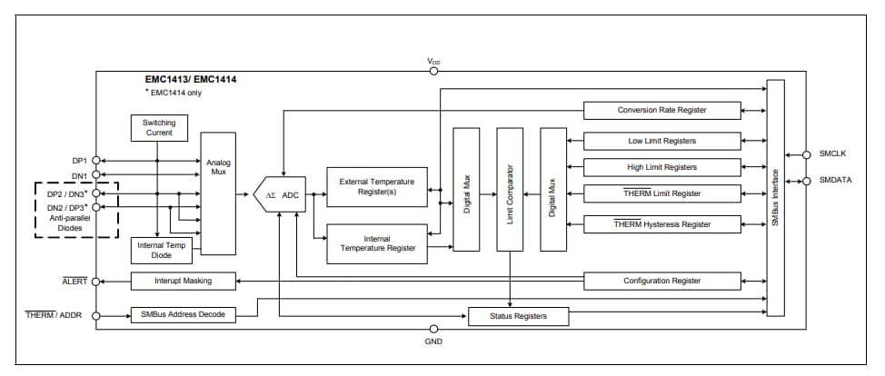
ブロック図
公開: 2019-12-23
| 更新済み: 2023-06-12
