Microchip Technology EQCO5X31 USB 3.2リクロッカ/リドライバ
Microchip Technology EQCO5X31 USB 3.2リクロッカ/リドライバには、パフォーマンスと信頼性を高めるために、EyeOpen™およびMarginLink™テクノロジーを搭載しています。Microchip Technology EQCO5X31は、最長16メートルのケーブルでUSB 3.2 SuperSpeed信号を再クロックおよび駆動できます。EQCO5X31は業界標準を超え、より長いリーチのアプリケーションを可能にします。特に、USB 2.0の推奨ケーブル長である1メートルから、USB 2.0およびUSB 3.2の両方で最大5メートルまで延長することができます。特徴
- USB 3.2 Gen 1 (SuperSpeed) のリーチを16mまで拡張
- サポートされているケーブルタイプは、シールドツイストペア (STP) および同軸
- ケーブル長に対応
- USB 2.0シグナリングがケーブルに含まれている場合は、最大5m
- USB 3.2のみの場合は、最大16m
- EyeOpenテクノロジーは、1dBステップで ケーブル補償を0から24dBまで自動的に実行します
- MarginLink統合シグナルインテグリティ試験 機能
- リファレンスクロックフリー動作(水晶または クロック不要)
- Clock-Dataリカバリ (CDR) は信号 タイミング整合性を両方向で復元します
- 外部コンポーネント 数が少ない場合の内部終端
- LFPSおよび電気アイドルをはじめとする、すべてのUSB 3.2 SuperSpeedシグナリングを対象とした透明性
- デュアルチャンネル・シングルレーン
- 20ピン4mm QFNパッケージ(ウェッタブルフランク)
- 低電力消費/単電源@ 1.2V
- リンクが 持続期間アイドル状態の場合の超低電力スリープ モード
- 産業向け温度範囲
アプリケーション
- ビデオ会議システムの拡張リーチ
- VRゲームアプリケーション用の拡張リーチケーブル
- アクティブUSB 3.2ケーブルの拡張
- USB3 Vision™システムの拡張
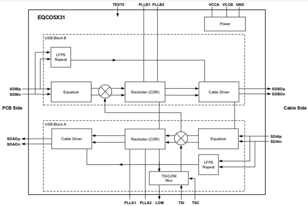
ブロック図
公開: 2023-06-20
| 更新済み: 2023-08-08
