Microchip IS1870/71 Bluetooth Low Energy SoCは、シンプルな統合とプログラミング、開発時間の削減、低コストシステムを用いた優れたBluetooth Low Energyソリューション、Apple® iOSおよびAndroid™ OSとの相互運用性、広範囲なアプリケーションサポートを提供します。
IS1870/71 SoCは、低電力ワイヤレス接続を維持するように最適化されています。また、小型フォームファクタパッケージサイズは、ウェアラブルアプリケーション用に設計されています。
特徴
- Bluetooth スマート4.2 Bluetooth Low Energyに準拠
- 256キロバイトの組み込みフラッシュメモリ
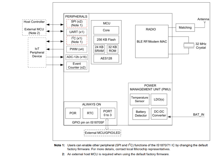
- UART/SPI/I2Cインターフェイスをサポート
- 32MHz外部水晶で動作する統合水晶発振器
- 対応する温度センサ
- IS1870 SoC用の31個の汎用I/O(GPIO)ピン、IS1871 SoC用の15本のGPIOピン
- IS1870 SoC向け4チャンネルパルス幅変調(PWM)、IS1871 SoC向け1チャンネルPWMに対応
- バッテリと電圧検出を目的とした12ビットADC(ENOB = 10または8ビット)に対応
- IS1870 SoC向け16チャンネルADCおよびIS1871 SoC向け6チャンネルADCを実現
- AES-CMACハードウェアエンジン
- Beacon対応
- 低消費電力
- 小型サイズ:
- IS1871(4mm x 4mm 32QFNパッケージ)
- IS1870を6mm x 6mm 48QFNパッケージに格納
アプリケーション
- モノのインターネット(IoT)
- ウェアラブル、フィットネス、またはヘルスケア
- 重量スケール
- Proximity/Find Meサービス
- 安全な決済
- デジタルビーコン
- 民生用機器 / ホームオートメーション
- 産業
IS1870ブロック図
IS1871ブロック図
ビデオ
公開: 2021-03-15
| 更新済み: 2024-10-30

