Microchip Technology LAN8840ギガビットイーサネットトランシーバ
Microchip Technology LAN8840ギガビット・イーサネット(GbE) トランシーバは、統合トリプルスピード(10BASE-T/100BASE-TX/1000BASE-T) イーサネット物理層トランシーバで、データの送受信を目的としています。これらのトランシーバは、10Mbps/100Mbps/1000Mbpsでのデータ転送用スイッチおよびRGMII MACへの直接接続を目的としたギガビットメディア独立インターフェイス(RGMII) の削減を実現しています。LAN8840トランシーバは、差動ペアと信号品質を示すオンチップ終端レジスタが特徴です。これらのトランシーバは、3.3V/2.5V/1.8VトレラントI/OおよびIEEE 1588v2サポートが備わっているRGMIIが特徴です。LAN8840トランシーバは、割り込みピンオプション、電源遮断および省電力モード、ベースラインワンダー補正を搭載しています。これらのトランシーバには、堅牢なカスタムパケット検出および、リンク、アクティビティ、速度の設定が可能なLED出力によるWake-On-LAN(WOL)をサポートしています。LAN8840トランシーバは、オンチップ終端レジスタを使用してボードレイアウトを簡素化し、LDOコントローラを統合することでボードコストを削減します。これらのトランシーバは、-40°C〜105°Cの拡張工業温度範囲で動作します。LAN8840トランシーバは、 産業用制御、ゲームコンソール、IPTV、ブロードバンドゲートウェイ、レーザー/ネットワークプリンタ、ネットワークサーバ、IPセットトップボックスでの使用に最適です。
特徴
- IEEE 802.3アプリケーションに適したシングルチップ10Mbps/100Mbps/1000Mbpsイーサネットトランシーバ
- 差動ペア用のオンチップ終端レジスタ
- 最大16KBのジャンボフレームをサポート
- 125MHzの参照クロック出力
- ケーブル未接続時の消費電力を削減するEnergy Detectパワーダウンモード
- Wake-On-LAN(WOL)をサポートしており、信頼性の高いカスタムパケット検出が可能
- 設定可能LED出力 - リンク、アクティビティ、速度を表示
- ベースラインワンダー補正
- LinkMD® TDRベースのケーブル診断によって、障害のある銅線ケーブルを識別
- EtherSynch® 技術IEEE 1588v2/PTP
- 低消費電力アイドル(LPI)モードおよび100BASE-TX/1000BASE-T用のクロックストップによるエネルギー効率に優れたイーサネット(EEE) サポート
- 10BASE-Teオプションを活用した送信振幅低減
- リンク、アクティビティ、速度を示す5個のプログラム可能なLED出力が特長のLAN8840ギガビットイーサネットトランシーバ
- 信号品質表示
- PHYレジスタ設定のためのMDC/MDIOマネジメントインターフェイス
- 診断向けループバックモード
- ペアスワップ、ペア間スキュー、ペア極性の自動的な検出と修正
- パラメトリックNANDツリーをサポート - チップI/Oと基板の間の異常を検出可能
- 割り込みピンオプション
- パワーダウンモードと省電力モード
仕様
- 48ピンVQFN(7mm × 7mm)パッケージ
- 最大16KBのジャンボフレームをサポート
- 拡張工業動作温度範囲:-40°C〜105°C
アプリケーション
- 産業用制御
- レーザー/ネットワークプリンタ
- NAS (ネットワーク接続ストレージ)
- ネットワークサーバー
- GLOM (マザーボード上のギガビットLAN)
- ブロードバンドゲートウェイ
- Gigabit SOHO/SMB ルーター
- IPTV
- IPセットトップボックス
- ゲームコンソール
- トリプルプレイ(データ、音声、ビデオ)メディアセンター
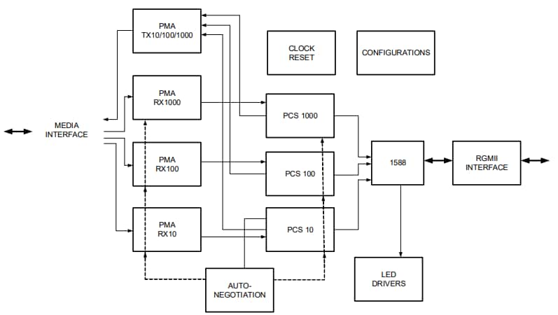
システムブロック図
LAN8840のブロック図
公開: 2023-06-06
| 更新済み: 2023-07-10
