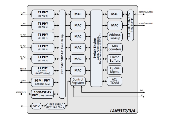
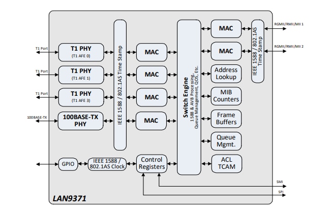
LAN9370は、5ポート層2+管理スイッチで、4つの100BASE-T1 PHYと単一のMACポートが組み込まれており、RGMII/MII/RMIIに構成できます。LAN9371は、3つの100BASE-T1 PHY、1つの100BASE-TX PHY、2つのMACポートで構成されている6ポート層2+マネージドスイッチで、RGMII/MII/RMIIに構成できます。LAN9372は、5つの100BASE-T1 PHY、1つの100BASE-TX PHY、2つのMACポートが搭載されている8ポート層2+管理スイッチで、RGMII/MII/RMIIに構成できます。LAN9373は、5つの100BASE-T1 PHY、RGMII/MII/RMIIに構成できる2つのMACポート、SGMIIポートが搭載されている8ポート層2+マネージドスイッチです。LAN9374は、8ポート層2+マネージドスイッチで、6つの100BASE-T1 PHYと2つのMACポートが統合されており、RGMII/MII/RMIIに構成できます。
LAN937xは、Grade 2車載(-40°C~+105°C)温度範囲で販売されており、ゲートウェイ、自動運転支援システム(ADAS)、インフォテインメント、テレマティクス、車載ネットワーキングなどの車載使用事例を対象とするAEC-Q100の認定を取得しています。また、このスイッチは、産業車、オートメーション、ロボティクス、輸送といった非車載アプリケーションに最適な工業温度バージョン(-40°C~+85°C)でも提供されています。
LAN937xは、IEEEオーディオ・ビデオ・ブリッジング(AVB)およびキーTSN(Time Sensitive Networking)規格を完全にサポートしており、以下をはじめとするEthernetでのレイテンシに敏感なトラフィックストリームを対象に高品質のサービス(QoS)を供給しています。:
• IEEE 802.1AS時間同期
• IEEE 802.Qatストリーム予約
• IEEE 802.Qavトラフィックシェーピング
• IEEE 802.1Qbv(TSN)時間認識スケジューラ
• IEEE 802.1Qci(TSN)侵入フィルタリングとポリシング
Open Alliance TC10スリープ/ウェイクアップパーシャル・ネットワーキング、非TC10リンク・パートナー・エネルギー検出ウェイクアップ、超ディープ・スリープ電力をはじめとする、豊富なEtherGREEN™エネルギー効率機能が提供されています。
特徴
- 包括的なインターフェイス
- 3x統合100BASE-T1 PHY
- 延長されたケーブルリーチ
- 1x 100BASE-TX PHY、2x RGMII/RMII/MIIポート
- 高ポート数のためのカスケード・モード
- システム・リファレンス出力クロック
- 時間認識高精度GPIO
- SPIまたはインバンド・ホスト・プロセッサ・アクセス
- スイッチ管理
- AVB / TSNサポート
- 1ポートあたり8つのシェーパ、各キューに1つ
- TCAMを使用したディープ・パケット・インスペクション(DPI)
- レイヤー2、3、4、およびそれ以上のTCAM分類
- 高利用可能なシームレス冗長性(HSR)
- OPEN Alliance TC11サポート
- スマートな低レイテンシのカットオフ転送モード
- 環境と診断
- OPEN Alliance TC10サポート
- FlexPWR技術電力管理
- 過温度および低電圧検出
- LinkMD®+ケーブル診断機能
- AEC-Q100 Grade 2車載認定(-40°C~+105°C)
アプリケーション
- 先進運転支援システム(ADAS)
- インフォテインメント
- テレマティクスとスマート・アンテナ
- 車内バックボーン
- ゲートウェイ
LAN9370のブロック図
LAN9371のブロック図
LAN9372/3/4のブロック図

