Microchip Technology MCP1502は、小型2x2 SOT-23パッケージでご用意があり、車載アプリケーションでの使用を目的にAEC-Q100 Grade 1の認定を受けています。
特徴
- 最大温度係数:-40°C~+125°Cで7ppm/°C
- 初期精度:0.1%
- 動作温度範囲:-40°C~+125°C
- 標準動作電流:140µA
- 最高ラインレギュレーション:50ppm/V
- 最高ロードレギュレーション:40ppm/V
- 30µVRMS、0.1Hz 10kHz(1.024V)出力ノイズ
- AEC-Q100認定 (車載アプリケーション)
- 温度範囲:-40°C~+125°C (グレード 1)
- 8つの電圧バリアントが利用可能
- 1.024V
- 1.250V
- 1.800V
- 2.048V
- 2.500V
- 3.000V
- 3.300V
- 4.096V
アプリケーション
- 高精度データ収集システム
- 電気自動車バッテリマネジメントシステム
- 高分解能データコンバータ
- 医療機器アプリケーション
- 産業用制御装置
- バッテリ駆動デバイス
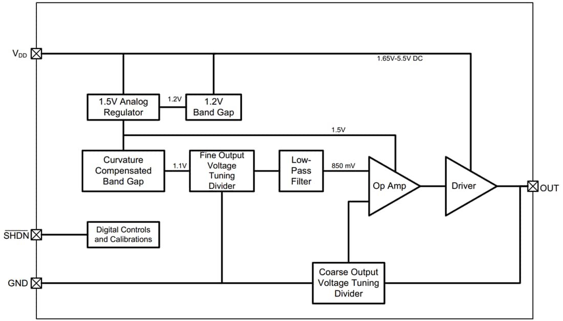
ブロック図
公開: 2022-02-09
| 更新済み: 2022-03-22

