Microchip Technology MCP1662 LED照明ドライバ
Microchip Technology MCP1662 LED Lighting Drivers are compact, space-efficient, fixed-frequency, non-synchronous step-up converters. These LED drivers are optimized to drive LED strings with a constant current from a two/three-cell alkaline or Lithium energizers, NiMH/NiCd, or one-cell Lithium-Ion/Li-Polymer batteries. MCP1662照明ドライバには、36Aおよび800mΩの低圧側スイッチがブレンドされており、1.3Aサイクルごとのインダクタピール電流制限動作によって保護されています。LED照明ドライバは、2セル駆動アプリケーションを対象とした起動時の低入力または電池の放電を回避する低電圧ロックアウト(UVLO)が特徴です。これらのMCP1662ドライバには、オープン負荷保護が備わっています。代表的なアプリケーションには、カメラのフラッシュ、医療機器、LED懐中電灯、バックライト電流源があります。特徴
- 36Vおよび800mΩ統合型スイッチ
- 最大92%の効率
- 定電流におけるLEDストリングの駆動
- 1.3Aピーク入力電流制限
- 入力電圧範囲: 2.4V~5.5V
- 300mVFB feedback voltage references
- 低電圧ロックアウト(UVLO)機能
- 2.3VIN(標準)立ち上がり
- 1.85VIN(標準)立ち下がり
- 20nA(標準)自己消費電流をともなうスリープモード
- 500kHzスイッチング周波数PWM動作
- サイクルバイサイクル電流制限
- 内部補償
- Open Load Protection (OLP) in the event of:
- GNDへ短絡された帰還ピン
- 切断されたLEDストリング
- 過熱保護
アプリケーション
- バックライト製品用の2セルおよび3セルアルカリあるいはNiMH/NiCd白色LEDドライバ
- リチウムイオン電池LED照明アプリケーション
- カメラのフラッシュ
- LEDフラッシュライトおよびバックライト電流源
- 医療機器
- ポータブル端末:
- 携帯ゲーム機
- GPSナビゲーションシステム
- LCDモニタ
- ポータブルDVDプレーヤー
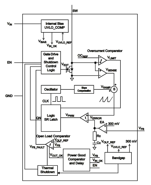
ブロック図
標準アプリケーション回路
公開: 2019-12-24
| 更新済み: 2023-06-12
