Microchip Technology MCP23x17 I/Oエキスパンダ

Microchip Technology MCP23x17 I/Oエキスパンダは、16ビット汎用並列双方向I/Oポートが特徴で、ハイスピードI2Cインターフェイスが搭載されています。これらのI/Oエキスパンダには、バス上に最大8台のデバイスを実現できるハードウェア・アドレス・ピン3本と構成可能な割り込み出力ピンが装備されています。ハードウェアピンは、デバイスアドレスの決定に使用されます。MCP23x17エキスパンダは、入力、出力、極性選択を目的とした複数の8ビット構成レジスタで構成されています。これらのMCP23x17 I/Oエキスパンダには、INTAおよびINTBの2本の割り込みピンが搭載されており、いずれかのポートが割り込みを引き起こすとアクティブになります。

特徴

  • 16ビットリモート双方向I/Oポート:
    • 入力に対するデフォルトのI/Oピン
  • ハイスピードI2Cインターフェイス (MCP23017):
    • 100kHz
    • 400kHz
    • 1.7MHz
  • ハイスピードSPIインターフェイス (MCP23S17):
    • 10MHz(最大)
  • バス上に最大8台のデバイスを実現できる3本のハードウェア・アドレス・ピン
  • 構成可能な割り込み出力ピン
    • アクティブ高、アクティブ低、あるいはオープンドレインとして構成可
  • 独立して動作するように構成できるINTAおよびINTB
  • 構成可能な割り込み源:
    • 構成されたレジスタのデフォルトまたはピン変更からの割り込みON変更
  • 入力ポートデータの極性を構成する極性反転レジスタ
  • 外部リセット入力
  • 低待機電流: 1µA(最大)
  • 動作電圧:
    • 1.8V~5.5V @ -40°C~85°C
    • 2.7V~5.5V @ -40°C~85°C
    • 4.5V~5.5V @ -40°C~125°C

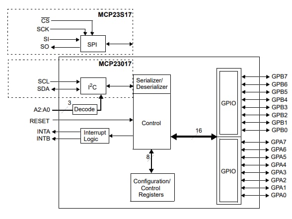
機能ブロック図

ブロック図 - Microchip Technology MCP23x17 I/Oエキスパンダ
公開: 2019-12-24 | 更新済み: 2023-06-12