Microchip Technology マイクロチップPIC12F157x 8ビット マイクロコントローラー
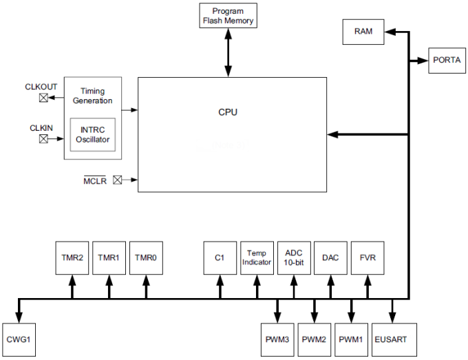
マイクロチップのPIC12F157x 8ビット マイクロコントローラーは、16ビットPWMの能力にインテリジェント アナログを組み合わせており、さまざまなアプリケーションに適合します。このデバイスは、それぞれに独立タイマーを内蔵した3つの16ビットPWMを搭載しており、LED照明、ステッピング モーター、電源、およびその他の汎用アプリケーションなど、高分解能が必要なアプリケーションに最適です。コアから独立した周辺モジュール(16ビットPWM、相補波形ジェネレーター)、拡張型汎用同期/非同期送受信器(EUSART)、インテリジェント アナログ(ADC、コンパレーター、DAC)により、クローズド ループ フィードバックおよび通信が可能になり、LINアプリケーションなどの多くの市場分野で使用することができます。特徴
- Enhanced Mid-range Core with 49 Instruction, 16 Stack Levels
- Flash Program Memory with self-read/write capability
- High Endurance Flash memory in lower byte of last 128 addresses of Program Memory (100,000 Writes min.)
- Internal clock speeds from 31kHz to 32MHz
- 3x Standalone 16-bit PWM Modules
- Complementary Waveform Generator (CWG) Module
- 4 Channel 10-bit ADC with Voltage Reference
- 5-bit Digital to Analog Converter (DAC)
- Comparator
- 2x 8-bit Timers (TMR0/TMR2)
- 1x 16-bit Timer (TMR1)
- Three additional 16-bit Timers available using the 16-bit PWMs
- Extended Watchdog Timer (WDT)
- Enhanced Power-On/Off-Reset
- Low-Power Brown-Out Reset (LPBOR)
- Programmable Brown-out Reset (BOR)
- In-Circuit Serial Programming (ICSP)
- Enhanced Universal Synchronous Asynchronous Receiver Transceiver (EUSART) (PIC12F1572 only)
- PIC12LF1571 (1.8V - 3.6V)
- PIC12F1571 (2.3V - 5.5V)
Block Diagram
公開: 2014-03-05
| 更新済み: 2022-03-11
