Microchip Technology PIC16(L)F18426/46低ピン数MCU
Microchip PIC16(L)F18426/46低ピン数MCUには、極めて低い消費電力(XLP)が備わっており、コア独立インテリジェント周辺機器(CIP)、インテリジェント・アナログ、さまざまなアプリケーション用の通信周辺機器が組み合わされています。これらのMCUは、計算機能搭載12ビット・アナログ・デジタル・コンバータ(ADC2)、デバイス情報領域(DIA)、メモリ・アクセス・パーティション(MAP)、周辺ピン選択(PPS)が特徴です。PIC16(L)F18426/46低ピン数MCUには、最大28KBプログラム・フラッシュ・メモリ、2kbデータSRAMメモリ、256BデータEEPROMメモリがあります。これらのMCUには、4つの構成可能なロジックセル(CLC)、2つの相補波形ジェネレータ(CWG)、最大18本のI/Oピンがあります。アナログ周辺機器には、ADC、DAC、ゼロクロス検出(ZCD)、温度センサ回路、固定電圧リファレンス(FVR)モジュールがあります。PIC16(L)F18426/46低ピン数MCUには、CPUおよび周辺装置が異なるサイクルレートで動作する場合における省電力動作モードが採用されています。これらの低ピン数MCUは、幅広い汎用および低消費電力アプリケーションに最適です。特徴
- Cコンパイラ最適化RISCアーキテクチャ
- 動作速度:
- DC用32MHzクロック入力
- 125nsの最小インストラクションサイクル
- 割り込み機能
- 16レベル・ディープハードウェアスタック
- タイマー:
- 最大2つの24ビットタイマ
- 最大4つの8ビットタイマ
- 最大4つの16ビットタイマ
- ウィンドウモード対応ウォッチドッグタイマー(WWDT):
- 可変プリスケーラ選択
- 可変ウィンドウサイズ選択
- ハードウェアおよび/またはソフトウェアで設定可能
- 低電流パワーオンリセット(POR)
- 構成可能パワーアップタイマ(PWRT)
- ブラウンアウトリセット(BOR)
- 低消費電力BOR(LPBOR)オプション
- メモリ:
- 最大28kbのプログラム・フラッシュ・メモリ
- 最大2KBのデータSRAMメモリ
- 256バイトのデータEEPROM
- プログラマブル・コード保護
- 直接、間接、相対アドレッシングモード
- メモリ・アクセス・パーティション(MAP):
- 書き込み保護
- カスタマイズ可能なパーティション
- 動作電圧範囲:
- 1.8V~3.6V (PIC16LF184XX)
- 2.3V~5.5V (PIC16F184XX)
- 動作温度範囲:
- 工業動作向け: -40ºC~85ºC
- 拡張動作向け: -40ºC~125ºC
- 省エネ動作モード:
- Doze - CPUと周辺機器は異なるサイクル・レートで動作
- アイドル - 周辺機器の動作中にCPUが停止
- スリープ - 最低電力消費
- 超低消費電力モード(XLP)
- ペリフェラル・モジュール・ディスエーブル(PMD)- ハードウェアのモジュールの選択的な無効化によって、未使用の周辺機器のアクティブな電力消費を最小化する機能
- 超低消費電力(XLP)の特徴:
- スリープモード - 50nA @ 1.8V
- 監視タイマ - 500nA @ 1.8V
- 二次発振器 - 500nA @ 32kHz
- 動作電流:
- 8µA @ 32kHz、1.8V
- 32µA/MHz @ 1.8V
- デジタル周辺機器:
- 構成可能なロジックセル(CLC):
- 4個のCLC
- 統合された組み合わせとシーケンスロジック
- 相補波形ジェネレータ(CWG):
- 2個のCWG
- 立ち上がり/立ち下がりエッジデッドバンド制御
- フルブリッジ、ハーフブリッジ、1チャンネル駆動
- 複数のシグナルソース
- キャプチャ/コンペア/ PWM(CCP)モジュール:
- 4 CCP
- 収集/比較モード用の16ビット解像度
- PWMモード用の10ビット解像度
- パルス幅変調器(PWM):
- 10ビットPWM 2個
- 数値制御オシレータ(NCO):
- 0Hz<fNCO
- FNCO/220解像度
- ペリフェラルピン選択(PPS):
- デジタル周辺機器のI/Oピンの再マッピング
- シリアル通信:
- EUSART:
- 1 EUSART
- RS-232、RS-485、LIN互換
- 自動ボー検出、自動ウェイクアップオンスタート
- マスターの同期シリアルポート(MSSP):
- 2つのMSSP
- SPI
- I2C、SMBus、PMBus™互換
- EUSART:
- データ信号モジュレータ(DSM)
- 最大18本のI/Oピン
- タイマモジュール
- 構成可能なロジックセル(CLC):
- アナログ周辺機器:
- 計算機能搭載アナログ・デジタル・コンバータ(ADC2)
- ゼロクロス検出(ZCD)
- 温度センサ回路
- コンパレータ
- デジタル・アナログ・コンバータ(DAC)
- 固定電圧リファレンス(FVR)モジュール
- 柔軟性に富んだ発振器構造
- 高精度内部発振器
- 4x外部電源用PLL
- 2x HFINTOSC用PLL
- 低消費電力内部31kHz発振器(LFINTOSC)
- 外部32.768kHzクリスタル発振器(SOCS)
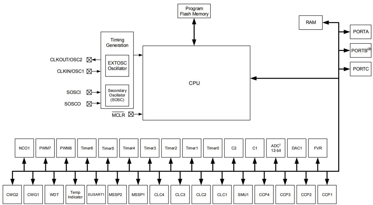
PIC16(L)F18426/46低ピン数MCUのブロック図
公開: 2018-03-29
| 更新済み: 2022-10-03
