Microchip Technology PIC16F153558ビットマイクロコントローラ

Microchip TechnologyPIC16LF15355 8ビットマイクロコントローラは、インテリジェントアナログ、コア独立周辺機器(CIP)、極めて低い消費電力(XLP)と組み合わされた通信のような本質的な周辺機器が特徴で、広範な低消費電力アプリケーションを対象としています。 PIC16F15355マイクロコントローラファミリは、複数のパルス幅変調(PWM)、複数の通信、温度センサ、メモリアクセスパーティション(MAP)およびデバイス情報エリア(DIA)のようなメモリ機能が特徴です。 これらのデバイスは、28ピンSPDIP、SSOP、SOIC、UQFNパッケージで提供され、さまざまなアプリケーションにてお客様に対応しています。

特徴

  • Enhanced Mid-range Core with 49 Instruction, 16 Stack Levels
  • Flash Program Memory with self-read/write capability
  • eXtreme Low Power (XLP)
  • IDLE and DOZE low power modes
  • Peripheral Module Disable (PMD)
  • Peripheral Pin Select (PPS)
  • 4x 10-bit PWMs
  • 2x Capture, Compare, PWM (CCP)
  • Complementary Waveform Generator (CWG)
  • Numerically Controlled Oscillator (NCO)
  • 4x Configurable Logic Controller (CLC)
  • 24 Channel 10-bit ADC with Voltage Reference
  • 5-bit Digital to Analog Converter (DAC)
  • 2x Comparators
  • 1x 8-bit Timers (TMR0/TMR2)
  • 2x 16-bit Timer (TMR1)
  • Window Watchdog Timer (WWDT)
  • Enhanced Power-On/Off-Reset
  • Low-Power Brown-Out Reset (LPBOR)
  • Programmable Brown-out Reset (BOR)
  • In-Circuit Serial Programming (ICSP)

仕様

  • Program Memory Type Flash
  • Program Memory 4KB
  • CPU Speed 8MIPS
  • RAM Bytes 1024
  • Digital Communication Peripherals:
    • 2-UART
    • 2-SPI
    • 2-I2C
  • Capture/Compare/PWM Peripherals 2 CCP
  •  Timers
    • 1x 8-bit
    • 2x 16-bit
  • ADC: 24 channel, 10-bit
  • Comparators 2
  • Temperature Range -40ºC to 125ºC
  • Operating Voltage Range 1.8V to 3.6V
  • Package options
    • 28-pin SPDIP
    • 28-pin SOIC
    • 28-pin SSOP
    • 28-pin UQFN 4mm x 4mm

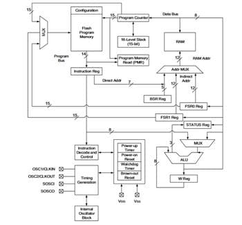
Block Diagrams

公開: 2016-11-23 | 更新済み: 2022-03-11