Microchip Technology PIC16(L)F1847フラッシュMCU
Microchip PIC16(L)F1847フラッシュMCUは、49命令、16スタックレベル、インサーキットデバッグ機能が搭載された拡張ミッドレンジ8ビットCPUコアを使用して設計されています。これらのMCUは、高精度32MHz内部発振器ブロック、ADCモジュール、アナログ・コンパレータと電圧リファレンス・モデル、プログラマブル・コード保護、データ信号モジュレータ・モジュールが特徴です。リファレンス・クロック・モジュールを使用すると、分周クロックをクロック出力ピン(CLKR)に送信でき、2次内部クロック・ソースへの変調器モジュールを実現します。発振器モジュールには、さまざまなクロックソースと選択機能があり、性能を最大限に高めて消費電力を最小限に抑えながら、さまざまなアプリケーションで使用できます。PIC16(L)F1847フラッシュMCUには、キャプチャ/比較/PWM周辺モジュールがあり、ユーザはさまざまなイベントの時間と制御を行ってPWM信号を生成できます。デバッギングとプログラミング・サポートはPICkit™ 3およびMPLAB® ICD 3から利用できます。特徴
- 高性能RISC CPU:
- Cコンパイラ最適化アーキテクチャ
- 256バイトのデータEEPROM
- 最大14KBリニア・プログラム・メモリ対応
- 最大1024バイト・リニア・データ・メモリ対応
- 割り込み機能自動保存コンテキスト
- 直接、間接、相対アドレッシングモード
- 柔軟性に富んだ発振器構造:
- 高精度32MHzの内部発振器ブロック
- 31kHzの低消費電力内部発振器
- 最大32MHzの4つのクリスタルモード
- 2つの高速発振器スタートアップ
- フェイルセーフクロックモニタ
- MCUの特殊機能:
- PIC16F1847向け1.8V~5.5Vの動作電圧
- PIC16LF1847向け1.8V~3.6Vの動作電圧
- ソフトウェア制御の下でのセルフプログラマブル
- パワーオンリセット(POR)、パワーアップタイマ(PART)、オシレータスタートアップタイマ(OST)
- 設定可能な電圧低下リセット(BOR)
- 拡張ウォッチドッグタイマ(WDT)
- プログラマブル・コード保護
- ピン2本からのIn-circuit serial programming™ (ICSP™)
- ピン2本からのIn-Circuit Debug (ICD)
- 強化された低電圧プログラミング
- 省電力スリープモード
- 極めて低い消費電力管理PIC16LF1847 XLP:
- スリープモード - 20nA @ 1.8V
- ウォッチドッグ・タイマ - 300nA @ 1.8V
- Time1発振器 - 650nA @ 32kHz
- 動作電流: 65µA/MHz @ 1.8V
- アナログ-デジタルコンバータ(ADC)モジュール
- アナログコンパレータモジュール
- 電圧リファレンスモジュール
- 15本のI/Oピンと入力ピン1本のみ
- 4つの8ビットタイマ(TMR0/TMR2/TMR4/TMR6)
- 16ビットタイマ1個 (TMR1)
- 拡張ウォッチドッグタイマ(EWDT)
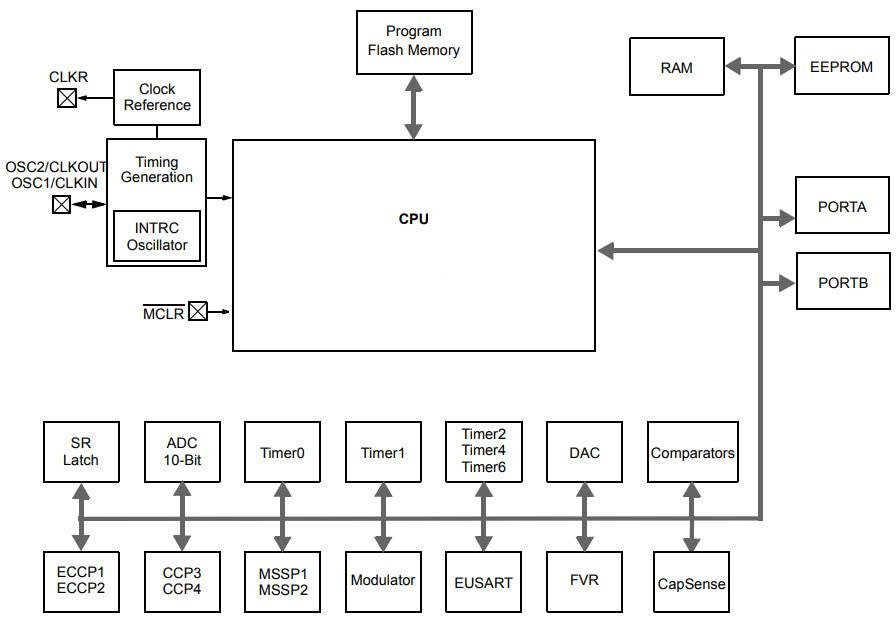
PIC16(L)F1847フラッシュMCUのブロック図
公開: 2018-03-29
| 更新済み: 2022-10-03
