Microchip Technology PIC16LF19195/6/7 64ピンマイクロコントローラ
Microchip PIC16LF19195/6/7 64ピンマイクロコントローラは、コア独立周辺機器(CIP)と組み合わされた極めて低い消費電力(XLP)LCDドライブ、およびインテリジェントアナログを備えています。機能には、内蔵チャージポンプ、バックライト用の大電流I/Oドライブ、リアルタイム・クロック/カレンダー(RTCC)のバッテリバックアップがあり、PIC16LF19195/6/7をバッテリ駆動LCDアプリケーションに最適なものにしています。電圧および温度全体での高精度クロックソースによって、HFINTOSCのアクティブなクロック調整を提供します。新しい12ビットADCコントローラは、平均化、フィルタリング、オーバーサンプリング用の容量性電圧分割器(CVD)技術を自動化します。PIC16LF19195/6/7 64ピンマイクロコントローラは、多種多様なLCDおよび汎用アプリケーションにおいて、設計者をサポートしています。A highly accurate clock source over voltage and temperature provides active clock tuning of the HFINTOSC. The 12-bit ADC controller automates Capacitive Voltage Divider (CVD) techniques for averaging, filtering, and oversampling. The PIC16LF19195, PIC16LF19196, and PIC16LF19197 MCUs support the designer in a wide array of LCD and general-purpose applications.
The Microchip Technology PIC16LF19195, PIC16LF19196, and PIC16LF19197 MCUs are available in TQFP-64, QFN-64, and VQFN-64 packages.
特徴
- C compiler optimized RISC architecture
- Operating speed
- DC to 32MHz clock input
- 125ns minimum instruction cycle
- Interrupt capability
- 16-level deep hardware stack
- Timers
- Two 8-bit (TMR2/4) timer with hardware limit timer extension (HLT)
- 16-bit (TMR0/1)
- Low-current power-on reset (POR)
- Configurable power-up timer (PWRTE)
- Brown-out reset (BOR) with fast recovery
- Low-power BOR (LPBOR) option
- Programmable code protection
- Windowed Watchdog Timer (WWDT):
- Variable prescaler selection
- Variable window size selection
- All sources configurable in hardware or software
- Operating voltage range
- 1.8V to 3.6V (PIC16LF19195/6/7)
- 2.3V to 5.5V (PIC16F19195/6/7)
- Temperature range
- Industrial: -40°C to +85°C
- Extended: -40°C to +125°C
- Package options
- 10.0mm x 10.0mm x 1.0mm TQFP-64
- 9.0mm x 9.0mm x 0.9mm QFN-64
- 9.0mm x 9.0mm s 1.0mm VQFN-64
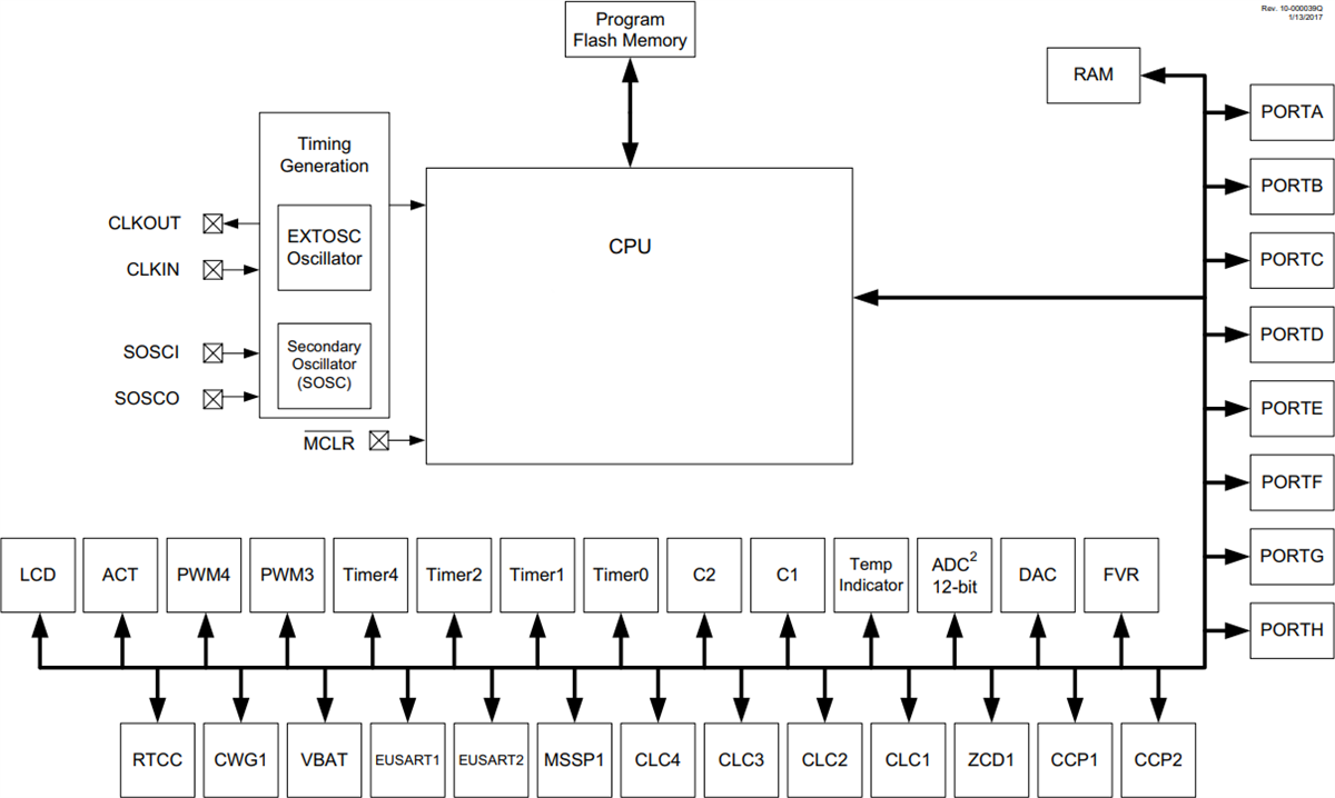
Block Diagram
公開: 2017-08-02
| 更新済み: 2022-03-24
