PIC32MX470ファミリは、オーディオコーデック、mTouch®容量性タッチ検知、グラフィックスまたは外部メモリ用8ビットパラレルマスタポート(PMP)、オンボード28チャンネル、1MSPSアナログデジタルコンバータ(ADC)、ならびにフルスピードUSB 2.0デバイス/ホスト/OTGを対象に、2つのSPI/I2Sインターフェイスを始めとする豊富な統合周辺機器を誇っています。これらのデバイスは、ソフトウェアおよびツールと結合されており、接続、グラフィックス、Bluetooth®対応デジタルオーディオ、および汎用埋込制御での製品ローンチに対応しています。
PIC32MAX470 MCUは、設計の柔軟性のためQFN、TQFP、VTLAパッケージで提供されています。
特徴
- Key features
- 120MHz/150DMIPS, MIPS32® M4K® core
- USB 2.0-compliant full-speed OTG controller
- Two I2S/SPI modules for Codec and serial communications
- Peripheral Pin Select (PPS) functionality
- Parallel Master Port (PMP) for graphics interfaces
- Charge Time Measurement Unit (CTMU)
- Microcontroller Features
- 512KB Flash memory (plus an additional 12KB of Boot Flash)
- 128KB SRAM memory
- MIPS16e® mode for up to 40% smaller code size
- Pin-compatible with most Microchip 16-bit devices
- Low-power management modes (Idle and Sleep)
- Peripheral Features
- Peripheral Pin Select (PPS) functionality
- Up to 4 channels of hardware DMA with automatic data size detection
- Five UARTs and two I2C modules
- Hardware Real-Time Clock and Calendar (RTCC)
- Five 16-bit timers/counters (two 16-bit pairs combine to create two 32-bit timers)
- Five capture inputs and five compare/PWM outputs
- Audio/Graphics/Touch HMI Features
- External graphics interface with up to 34 PMP pins
- Audio data communication: I2S, LJ, RJ, USB
- Audio data control interface: SPI and I2C
- Audio data master clock
- Generation of fractional clock frequencies
- Can be synchronized with USB clock
- Can be tuned in run-time
- Charge Time Measurement Unit (CTMU)
- Supports mTouch capacitive touch sensing
- Provides high-resolution time measurement (1ns)
- On-chip temperature measurement capability
- Advanced analog features
- ADC module
- 10-bit 1Msps rate with one Sample and Hold (S&H)
- Up to 28 analog inputs
- Can operate during sleep mode
- Comparators
- Two dual-input comparator modules
- Programmable references with 32 voltage points
- Debugger development support
- In-circuit and in-application programming
- 4-wire MIPS® Enhanced JTAG interface
- Unlimited program and six complex data breakpoints
- IEEE 1149.2-compatible (JTAG) boundary scan
- Physical Specifications
- Temperature range: -40°C to +105°C
- Operating voltage range: 2.3V to 3.6V
- Package Options
- QFN-64 (9.0mm x 9.0mm x 0.9mm)
- TQFP-64 (10.0mm x 10.0mm x 1.0mm)
- TQFP-100 (12.0mm x 12.0mm x 1.0mm)
- VTLA-124 (9.0mm x 9.0mm x 0.9mm)
- RoHS compliant
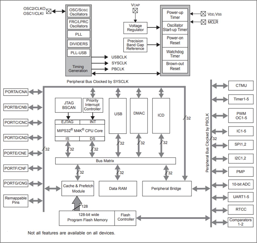
ブロック図
公開: 2017-01-25
| 更新済み: 2022-03-11

