これらのキットは、イーサネットPHYドータボード、すなわちLAN8720A PHYドータボード(AC320004-3)およびLAN9303 PHYスイッチドータボード(AC320004-4)との互換性があります。
特徴
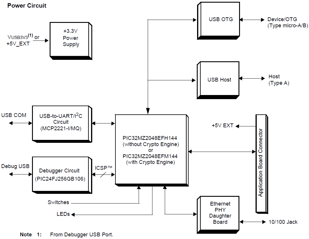
- 1つはデバッギング用、もう1つはUSB-to-UARTまたはI2C通信用、の2つのMini-B USBポート
- 組み込みホスト用の標準のUSBポート
- Micro-AB USBホスト/デバイス/OTGポート
- PHYドーターボードは、ネットワーク接続用のRJ-45イーサネットポートが特徴
キット内容
- 開発ボード1台
- LAN8740AイーサネットPHYドータ・ボード1台
- USB mini-Bケーブル2本(1本はデバッグ用で開発ボードに給電、もう1本のケーブルはUSB-to-UART通信用)
- USB micro-B to フルサイズAケーブル1本(PIC32 USBポートとの通信用)
- RJ-45 CAT5イーサネット・ケーブル1本(PIC32イーサネット・ポートとの通信用)
ブロック図
公開: 2016-03-07
| 更新済み: 2022-03-11

