Microchip Technology RNWF02オンボードに追加
Microchip Technology RNWF02アドオンボードは、RNWF02PC低消費電力Wi-Fi® モジュールの機能と特長を評価し、実演するための効率的で低コストな開発プラットフォームです。このプラグインボードはmikroBUS標準に準拠しており、オンボードのMCP2200 USB-to-UARTコンバータを搭載しているため、すぐに評価を開始できます。制御インターフェイスに必要な信号は、柔軟性とラピッドプロトタイピングのために、アドオンボードのオンボードコネクタに接続されています。アドオンボードはホストボードに簡単に接続でき、ホストマイクロコントローラユニット(MCU)によってUARTを通じてATコマンドで制御できます。特徴
- RNWF02PC低電力2.4GHz IEEE® 802.11b/g/n準拠Wi-Fiモジュール
- USB Type-C®(ホストPCから供給されるデフォルトの3.3V供給)またはmikroBUSインターフェイスを使用したホストボードからの供給により、3.3Vで動作
- PCコンパニオンモードでのオンボードUSB-to-UARTシリアルコンバータを使用した簡単で迅速な評価
- mikroBUSソケットを使用したホストコンパニオンモード
- mikroBUSインターフェイスを通じて、セキュアなアプリケーション向けにMicrochip Trust&Go CryptoAuthentication™ ICを提供します。
- 電源ステータス表示用LED
- BLUETOOTH® 共存をサポートするための3線PTAインターフェイスのハードウェアサポート
アプリケーション
- スマートファクトリー/制御デバイス
- セキュリティシステムとCCTV
- スマートホーム/照明とスマートロック
- コンピューティング、Wi-Fiドングル、プロトコルブリッジ
- モノのインターネット(IoT)センサタグ
- リモート制御
- ウェアラブルスマートデバイス
- 産業用制御装置
概要
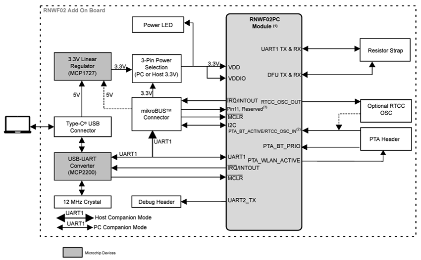
ブロック図
電源のブロック図
公開: 2024-11-08
| 更新済み: 2024-11-15
