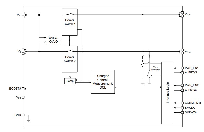
Microchip UCS2113-C USBデュアルポート電源スイッチと電流モニターは、スタンドアロンおよびSMBus/I2C通信があるアプリケーションの両方に最適です。UCS2113-Cは、SMBusアプリケーションを対象に、3.5A~5.2Aの範囲で1ポートあたりの電流監視および1スイッチあたり3通りのプログラマブル電流制限を実現します。また、3.8mAh~246.3Ahの範囲で1ポートあたりの充電比率も実現しています。UCS2113-Cは、スタンドアロンモード時に両方のスイッチで3通りの電流制限をサポートし、3.5A + 3.5A~5.2A + 5.2Aで実行します。両方の電源スイッチには、独立したVBUS放電機能が搭載されています。
UCS2113-Cデュアルポート電源スイッチと電流モニターは、4x4 mm 20ピンQFNパッケージでご用意があります。
特徴
- デュアルポート電源スイッチ:
- 2.9V~5.5Vソース電圧範囲
- VBUSポートあたり3A連続電流(1スイッチあたり40mΩ ON抵抗)
- 独立したポート電源スイッチ・イネーブル・ピン
- DUAL障害アラート#アクティブドレイン出力ピン
- トリップモード電流制限動作
- 低電圧および過電圧ロックアウト
- バックドライブ、バック電圧保護
- 試験電流が小さい自動回復障害処理
- 大きな負荷状態下でDC/DCコンバータ出力を増大させるBOOST#ロジック出力
- SMBus 2.0/I2Cモード機能:
- 各電源スイッチに割り当て可能な3つのプログラマブル電流制限
- リクエストに応じて他のSMBusアドレスを利用可能
- ブロック読取、ブロック書込
- 自己完結型の電流監視(外部センス抵抗器不要)
- ポートごとの充電配分と動作を完全にプログラミング可
- 自動VBUS放電機能
- -40°C~+105°Cワイド動作温度範囲
- 車載AEC-Q100信頼性試験に合格
ブロック図
公開: 2021-02-09
| 更新済み: 2022-03-11

