Murata Electronics PicoBK™ MYRLP-F-RD/REシリーズDC/DCコンバータ
ムラタ・エレクトロニクス PicoBK™MYRLP-F-RD/REシリーズ DC/DCコンバータは、インダクタと制御ICを一体化し、2mmx2.5mmx1mmの小型パッケージに収めた同期式降圧DC/DCコンバータです。省スペース電源は、2つの外付けコンデンサを追加することで構成できます。これらのコンバータは、電流消費が極めて低い回路とPFM制御を採用しており、軽負荷時の高効率を具現化できます。1.8V ~ 6V 動作電圧 範囲を使用すると、0.5Vから3.60Vまでの内部固定出力電圧を必要とする アプリケーションをサポートできます。Murata Electronics PicoBK MYRLP-F-RD/RE DC/DCコンバータには、内蔵低電圧ロックアウト (UVLO) 機能があり、グリーン動作との互換性があります。また、このシリーズは、無鉛、ハロゲンフリー、EU RoHSに準拠しています。特徴
- 単一パッケージにインダクタを集積
- ノイズ低減を目的とした設計
- セラミックコンデンサ互換性あり
- グリーン動作(環境に配慮した動作)に対応
- リードフリー、ハロゲンフリー
- EU RoHS準拠
アプリケーション
- スマートメーター
- センサモジュール
- ウェアラブルデバイス
- 環境発電デバイス
- 低消費電力RF
- バックアップ電源回路
- スマート・カード
- リチウム電池1個を備えるデバイス
仕様
- 入力電圧範囲: 1.8V~6.0V
- 出力電圧設定0.5V~3.60V
- 150mA output current
- 供給電流:200nA(VOUT=1.8V時)
- 標準効率86%
- 寸法2mm x 2.5mm x 1mm (W x L x H)
標準アプリケーション回路
一般的な性能特性
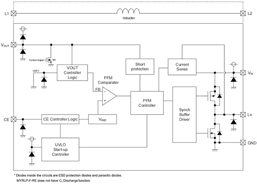
ブロック図
ビデオ
公開: 2022-08-29
| 更新済み: 2023-08-21
