Nexperia 74AVC1T1004 1-to-4ファンアウト・バッファ変換
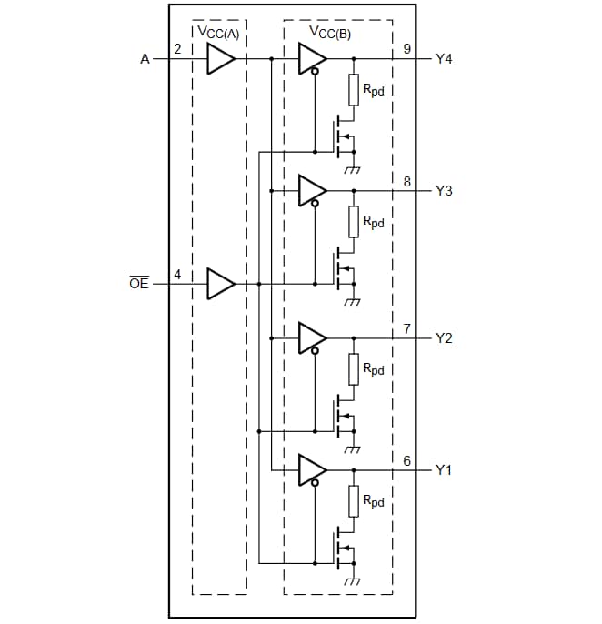
Nexperia 74AVC1T1004 1-to-4ファンアウト・バッファ変換は、クロック分配およびその他のポータブル・アプリケーション向けに最適化されています。このデバイスには、VCC(A)およびVCC(B)デュアル電源が備わっており、4つのデータ出力(Yn)、データ入力(A)、出力イネーブル入力(OE)による電圧変換を目的としています。デュアル電源VCC(A)およびVCC(B)は、0.8V~3.6Vの任意の電圧で独立して供給できます。AおよびOEの電源構成のレベルはVCC(A)を基準としており、出力YnはVCC(B)を基準としています。このように、ファンアウトされた信号をレベルシフトで使用できます。これらのプルダウン・レジスタは、OEでHIGHになるとLOWに切り替わり、プルダウン・レジスタを切断してすべての出力をイネーブルにします。IOFF回路機能によって、74AVC1T1004の電源がオフの際に出力を無効にすることで、あらゆる逆流電流を防止します。特徴
- 幅広い電源電圧範囲:
- VCC(A): 0.8V~3.6V
- VCC(B): 0.8V~3.6V
- JEDEC規格準拠:
- JESD8-12 (0.8V〜1.3V)
- JESD8-11 (0.9V〜1.65V)
- JESD8-7 (1.2V〜1.95V)
- JESD8-5 (1.8V〜2.7V)
- JESD8-B (2.7V〜3.6V)
- ESD保護:
- HBM ANSI/ESDA/JEDEC JS-001クラス2が2kVを超過
- CDM JESD22-C101は1000Vを超過
- 最大データ転送速度:
- 380Mbit/s (≥1.8V~3.3V変換)
- 200Mbit/s (≥1.1V~3.3V変換)
- 200Mbit/s(≥1.1V~2.5V変換)
- 200Mbit/s(≥1.1V~1.8V変換)
- 150Mbit/s(≥1.1V~1.5V変換)
- 100Mbit/s(≥1.1V~1.2V変換)
- ラッチアップ性能は、JESD 78 Class II準拠で、100mA超
- 入力は3.6Vまでの電圧に対応
- -40°C~+85°C、-40°C~+125°Cから指定
アプリケーション
- ポータブルアプリケーション
- セットトップボックス
- 産業用
- シールド製品
- コンピューティング/サーバ
- 車載用
ブロック図
公開: 2018-08-31
| 更新済み: 2023-03-15
