Nexperia NCA95xx I2CGPIOエキスパンダ
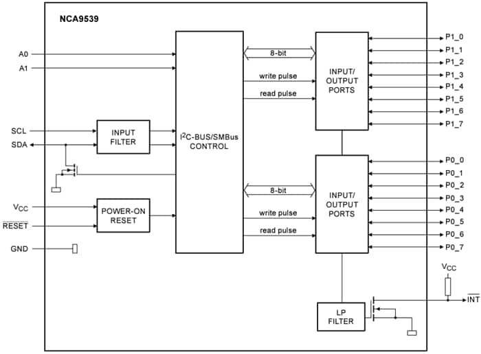
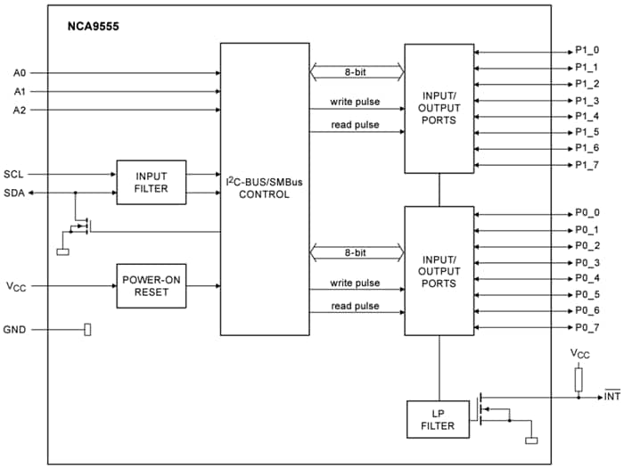
NexperiaのNCA95xx I2C汎用I/O(GPIO)エクスパンダは、追加のI/Oが必要な場合に、最小限の接続で優れたソリューションを提供します。TSSOP24およびHWQFN24パッケージに搭載されたこれらのGPIOエクスパンダーは、割り込み、ハードウェアRESET、内部プルアップ抵抗、構成可能なプルアップなど、さまざまな機能を提供します。これらのNexperia NCA95xx GPIOエクスパンダは、極めて低い静的消費電力と、配線の削減およびルーティングの簡素化によるプリント基板設計の複雑さの軽減といった利点を提供し、その結果、BOMコストの削減にも貢献します。特徴
- 1.65V~5.5V動作の動作電源電圧範囲をサポートする単一電源GPIOエクスパンダ
- I2Cプロトコルを使用したシリアルからパラレル(SDAからP0-P16)およびパラレルからシリアル(P0-P16)への変換
- シュミットトリガアクションによって、SCLおよびSDA入力での低速入力転換およびより良いスイッチングノイズ耐性が可能になります。
- 最大2.5µAの低電力消費
- 400kHz動作(FM I2Cモード)
- 弱いプルアップ抵抗器での入力として構成されたすべてのチャンネルによるグリッチフリーパワーアップ
- デフォルト16入力の5VトレラントI/Oおよび16 I/Oピン
- LEDを直接駆動する最大駆動能力25mAのラッチ出力
- 極性反転レジスタ
- 外部リセットpinによるリセット状態機械と内部レジスタ
- SCLおよびSDA入力でのノイズフィルタ
- TSSOP24およびHWQFN24パッケージ
- -40°C~+85°C、-40°C~+125°Cから指定
アプリケーション
- サーバとルータ
- TVおよびハードウェア制御モニター
- ゲームコンソールとドローン
- バッテリ駆動アプリケーション
- 自動車アプリケーション(ADAS、VCU、DCU、BCM)
- 監視カメラ
- 電気通信機器
View Results ( 8 ) Page
| 部品番号 | データシート | パッケージ/ケース | 最高クロック周波数 | I/O 数 |
|---|---|---|---|---|
| NCA9535BY-Q100HP | ![]() |
HWQFN-24 | ||
| NCA9539BYHP | ![]() |
HWQFN-24 | ||
| NCA9555BY-Q100HP | ![]() |
HWQFN-24 | 100 kHz, 400 kHz | 16 I/O |
| NCA9555BYHP | ![]() |
HWQFN-24 | 100 kHz, 400 kHz | 16 I/O |
| NCA9535PWJ | ![]() |
TSSOP-24 | 400 kHz | 16 I/O |
| NCA9539PW-Q100J | ![]() |
TSSOP-24 | 400 kHz | 16 I/O |
| NCA9539PWJ | ![]() |
TSSOP-24 | 400 kHz | 16 I/O |
| NCA9535PW-Q100J | ![]() |
TSSOP-24 | 400 kHz | 16 I/O |
公開: 2023-05-11
| 更新済み: 2025-04-17

