Nexperia NCA9555PW 16ビットI2CおよびSMBus I/Oエクスパンダ
Nexperia NCA9555PW 16ビットI2CおよびSMBus I/Oエクスパンダは、I2Cバス/SMBusアプリケーション向けに汎用入出力(GPIO)拡張を提供する、効率性に優れたソリューションです。Nexperia NCA9555PWは、1.65V~5.5Vの広い電圧範囲で動作します。NCA9555は、割込およびプルアップレジスタを始めとするさまざまなデバイスのニーズを満たすように設計されています。これらのデバイスには、ACPI電源スイッチ、センサ、プッシュボタン、LED、ファン制御システムが搭載されています。NCA9555は、8ビット入力、出力、構成、極性反転レジスタが特徴で、パワーアップ時の入力に対するすべてのIOデフォルトが備わっています。このデバイスの柔軟性に富んだ構成オプションを使用すると、各IOを入力または出力として設定できるようになり、最小限の相互接続での追加のIOの追加に最適な選択です。特徴
- I2Cバスからパラレル・ポートへのエクスパンダ
- 1.65V~5.5Vの動作電源電圧範囲
- 低スタンバイ消費電流
- 2.5µA(最大)
- シュミットトリガ動作により、SCLおよびSDA入力での低速入力遷移と優れたスイッチングノイズ耐性を実現
- Vhys = 0.10 × VCC(標準)
- SCLおよびSDA入力のノイズ・フィルタ
- 5V許容I/O
- デフォルトで16入力までの16本のI/Oピン
- オープンドレイン・アクティブLOW割り込み出力(INT)
- 400kHz高速モードI2Cバス
- 内部パワーオンリセット
- 弱いプルアップ・レジスタが搭載された入力として設定されたすべてのチャンネルでのパワーアップ
- 電源投入時のグリッチがない
- LEDを直接駆動する最大駆動能力25mAのラッチ出力
- ラッチアップ性能は100mA超(JESD78、Class IIによる)
- ESD保護
- HBM ANSI/ESDA/JEDEC JS-001クラス2が2000Vを超過
- CDM ANSI/ESDA/JEDEC JS-002 Class C3(1000Vを超過)
- -40°C~+85°Cに指定
アプリケーション
- ACPI電源スイッチ
- センサ
- プッシュ・ボタン
- LED
- ファン制御システム
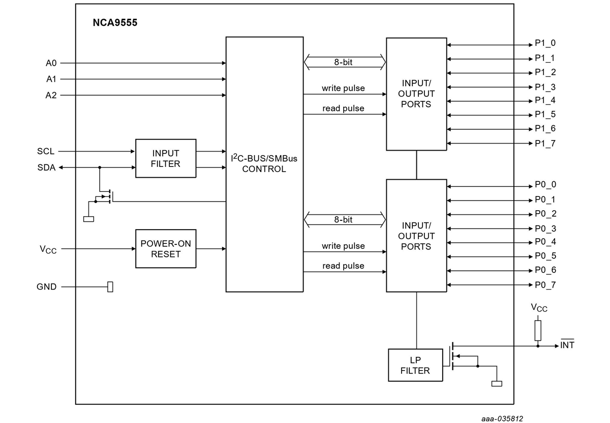
ブロック図
公開: 2023-02-07
| 更新済み: 2025-08-20
