Nuvoton NuMicro® M254/M256/M258 Microcontrollers
Nuvoton NuMicro® M254/M256/M258 Microcontrollers are based on the Arm® Cortex®-M23 core utilizing Armv8-M architecture with COM/SEG LCD driver and capacitive touch key functions for the HMI of a smart appliance. A USB 2.0 full-speed device is also supplied to support communication with PC/Mobile accessories.The Nuvoton M254/M256/M258 32-bit, low-power, low-leakage microcontrollers operate up to 48MHz and supplies 64Kbytes to 256Kbytes of Flash, 8Kbytes to 32Kbytes SRAM, 1.75V to 5.5V wide operating voltage, 5V I/O tolerance, and -40°C to +105°C operating temperature.
The MCUs are available in LQFP44 (10mm x 10mm), LQFP64 (7mm x 7mm), LQFP80 (14mm x 14mm), and LQFP128 (14mm x 14mm) packages.
Key Features Support Table
Features
- Arm Cortex-M23 processor, running up to 48MHz when VDD = 1.75V to 5.5V
- Built-in PMSAv8 Memory Protection Unit (MPU)
- Built-in Nested Vectored Interrupt Controller (NVIC)
- 32-bit single-cycle hardware multiplier and 32-bit 17-cycle hardware divider
- 24-bit system tick timer
- Supports programmable and maskable interrupt
- Supports low-power sleep mode by WFI and WFE instructions
- Supports single-cycle I/O access
- Supports XOM feature with one region
- Low power mode - idle mode
- Power-down mode (PD)
- Fast Wake-up Power-Down mode (FWPD)
- Deep Power-Down mode (DPD)
- 1.5V core power voltage
- EINT, touch key, USCI, RTC, WDT, I2C, timer, UART, BOD, LVR, POR, GPIO, USBD, ACMP, debug interface, NMI, and reset pin from power-down mode or fast wake-up power-down mode
- RTC, wake-up timer, LVR, wake-up pins from deep power-down mode
- Built-in LDO for wide operating voltage from 1.75V to 5.5V
- Brown-out detector
- With seven levels at 4.4V/3.7V/3.0V/2.7V/2.4V/2.0V/1.8V
- Supports brown-out interrupt and reset option
- Low voltage reset with 1.55V threshold voltage levels
- Security
- 96-bit Unique ID (UID)
- 128-bit Unique Customer ID (UCID)
- AES-128, 192, 256
Applications
- Handheld devices
- Thermostat with smart LCD display and touch key
- Smart home appliance
- Industrial control/industrial automation
- Temperature/humidity logger
Block Diagram
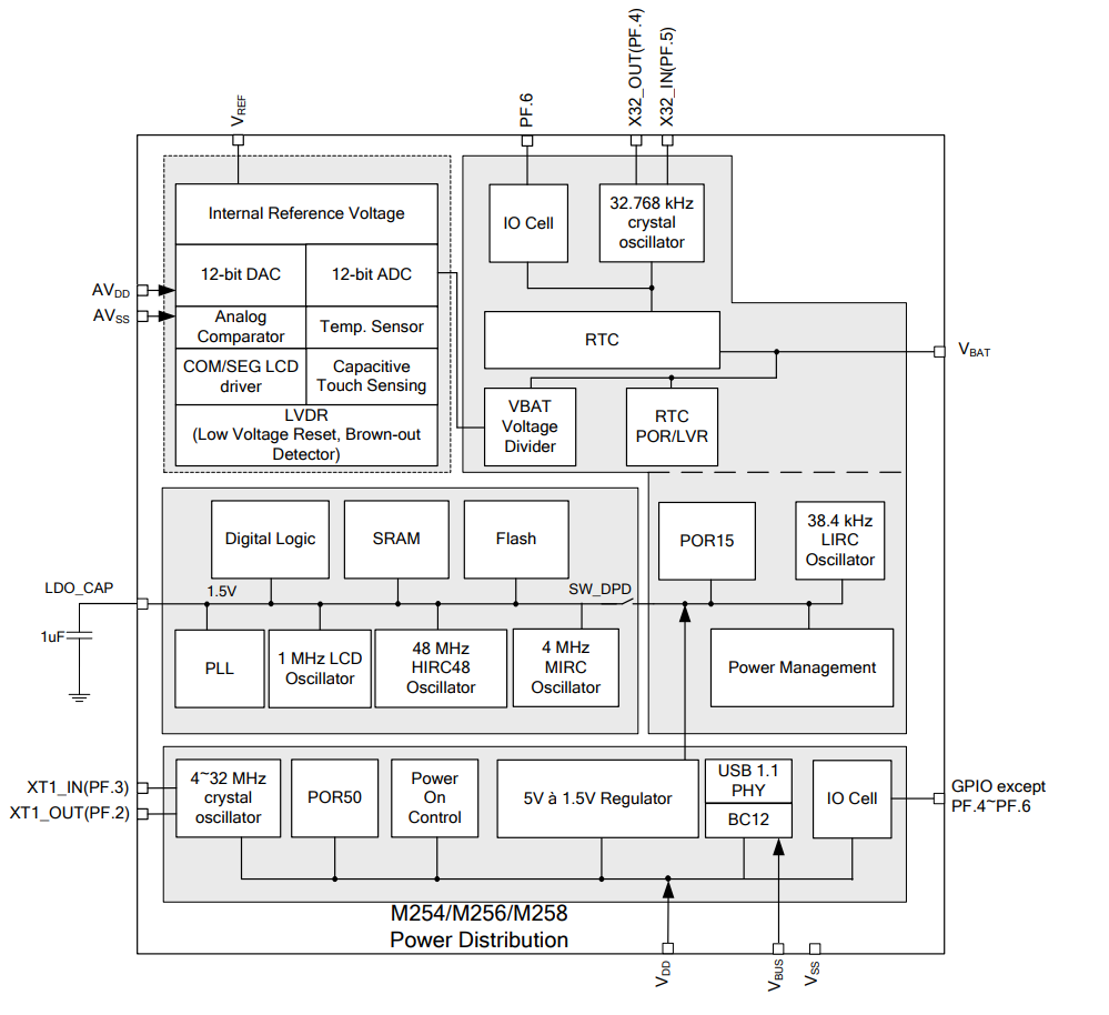
Power Distribution Diagram
公開: 2025-04-16
| 更新済み: 2025-05-06
