NXP Semiconductors ASLx507 DC-DCブースト・コンバータ
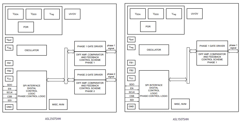
NXP Semiconductors ASLx507 DC-DCブースト・コンバータには、シングルおよびデュアル位相ICが備わっており、プログラマブル・リンプホーム・モード機能が搭載されています。これらのブースト・コンバータICは、1つまたは2つの統合ゲート・ドライバが特徴で、外部パワーMOSFETと統合比例/積分(PI)コントローラを駆動します。ASLx507ブースト・コンバータは、外付けマイクロコントローラと通信を行う豊富な制御と診断のためのSPIインターフェイスを実現しています。これらのブースト・コンバータを使用すると、マイクロコントローラとのSPI通信が失敗した場合に、limp-homeモードでの構成可能な動作が実現します。ASLx507 ICの出力は、limp-homeモードで顧客がプログラミングできる揮発性メモリ(NVM)に格納された、予め定義された条件に準じて動作します。特徴
- AEC-Q100 Grade 1に認定済
- システムの安全性を保証するLimp-homeモード
- 各出力での単相または1つの出力での2相
- 3%精度が備わった2つの独立した制御出力電圧
- 125kHz~700kHzの内蔵発振器を使用した固定周波数動作
- プログラマブル・スペクトラム拡散機能
- 過電圧出力が検出された場合にゲート・スイッチングを停止
- プログラマブル・ゲート電圧
- 低電磁放射 (EME) および高電磁環境耐性 (EMI)
- 周波数と出力電圧を追跡するスロープ補償
- プログラマブル制御ループ補償
- 出力電圧モニタリング
- 供給電圧測定
- SPIからプログラミングされた電圧および周波数範囲の読み戻し
- SPIからの接合部温度監視
- HVQFN32パッケージ外形
仕様
- 5.5V~40Vという広い動作入力範囲
- 2.5V~80Vという広い動作LED電圧
- 自己消費電流: <5µA @ 25°C
- 動作周囲温度範囲: -40°C~125°C
アプリケーション
- 車載用LED照明:
- 日中走行用ライト
- 位置またはパークライト
- ロービーム
- ハイビーム
- 回転インジケータ
- フォグライト
- コーナリングライト
- 工業/コンシューマ:
- 照明(内装用)
- 制御パネル
- バッテリ充電器
- 電動バイク
ASLx507のブロック図
View Results ( 4 ) Page
| 部品番号 | データシート | 説明 | チャンネル数 | 入力電圧 | 動作周波数 | 供給電流 - 最大 | パッケージ/ケース |
|---|---|---|---|---|---|---|---|
| ASL2507SHNY | ![]() |
LED照明ドライバIC Dual phase boost converter IC, Automotive grade, SPI, Limp Home mode | 2 Channel | 5.5 V to 40 V | 125 kHz to 700 kHz | 250 uA | HVQFN-32 |
| ASL1507SHNY | ![]() |
LED照明ドライバIC Single-phase boost converter IC , automotive grade, SPI, Limp Home mode | 1 Channel | 5.5 V to 40 V | 125 kHz to 700 kHz | 250 uA | HVQFN-32 |
| ASL2500SHNY | ![]() |
LED照明ドライバIC Two-Phase Automotive LED Boost Driver | 1 Channel | 5.5 V to 40 V | 20 mA | HVQFN-32 | |
| ASL1500SHNY | ![]() |
LED照明ドライバIC Single-Phase Automotive LED Boost Driver | 20 mA | HVQFN-32 |
公開: 2018-12-06
| 更新済み: 2022-10-12

