NXP Semiconductors PF1550 PMIC
NXP Semiconductors PF1550パワー管理統合回路(PMIC)は、低消費電力ポータブル、スマート・ウェアラブル、IoTアプリケーションのi.MXプロセッサとの併用を目的に設計されています。これらのPMICは、i.MX 7ULP、i.MX 6SL、6UL、6ULL、6SXプロセッサを対象としたフルパワー・ソリューションです。PF1550 PMICには、高効率バック・コンバータ3台、リニア・レギュレータ3台、RTC供給、バッテリ・リニア充電器が組み合わされており、完全バッテリ駆動システムのためのパワーを実現しています。これらのPMICは、ユーザプログラマブルLDOレギュレータ3台、I2Cインターフェイス、DDR端子リファレンス電圧、1Aリニア・リチウムイオン電池充電器が特徴です。一般的なアプリケーションには、ホーム・オートメーション、電子リーダー、スマート携帯電話、IoT、ワイヤレス・ゲーム・コントローラ、組み込み監視システムがあります。特徴
- USBバス経由、またはACアダプタ(4.1V~6V)からの、PMICへVBUSINピンへの入力電圧範囲:
- バック・コンバータ:
- 内部デジタル・ソフトスタート
- 軽負荷ULPモードで1μAの自己消費電流
- ピーク効率: 90%以上
- SW1およびSW2でのダイナミック電圧スケーリング
- モード:
- 強制PWM疑似固定周波数モード
- 適応型可変周波数モード
- プログラマブル出力電圧、電流制限、ソフト・スタート
- LDOレギュレータ:
- 自己消費電流< 1.5μA(低消費電力モード)
- プログラマブル出力電圧
- ソフトスタートとランプ
- 電流制限保護
- バッテリ充電器:
- シングルセル・リチウムイオン/リチウムポリマ電池に対応
- リニア充電
- 統合50mバッテリ絶縁MOSFET
- バッテリ・サプリメント・モード
- 最大3Aのバッテリ放電過電流保護
- プログラマブルLEDドライバ
- JEITA準拠バッテリ温度センシングと充電器制御
- LDO/スイッチ供給:
- RTC電源VSNVS 3V、2mA
- ボタン型充電器
- DDRメモリ・リファレンス電圧VREFDDR、0.5~0.9V、10mA
- デバイス構成用のワンタイム・プログラマブル(OTP)メモリ:
- ユーザ・プログラマブル起動シーケンス、タイミング、ソフトスタート、パワーオン・シーケンス
- プログラマブル・レギュレータ出力電圧と充電器パラメータ
- I2Cインターフェイス
- ユーザ・プログラマブル・スタンバイ/低消費電力、およびオフ(REGS_DISABLE)モード
- 周囲温度範囲: -40°C~105°C
アプリケーション
- スマート携帯電話/ウェアラブル・デバイス
- 低消費電力IoT
- ワイヤレス・ゲーム・コントローラ
- ホームオートメーション
- 組み込みモーション・システム
- POS
- 電子リーダー
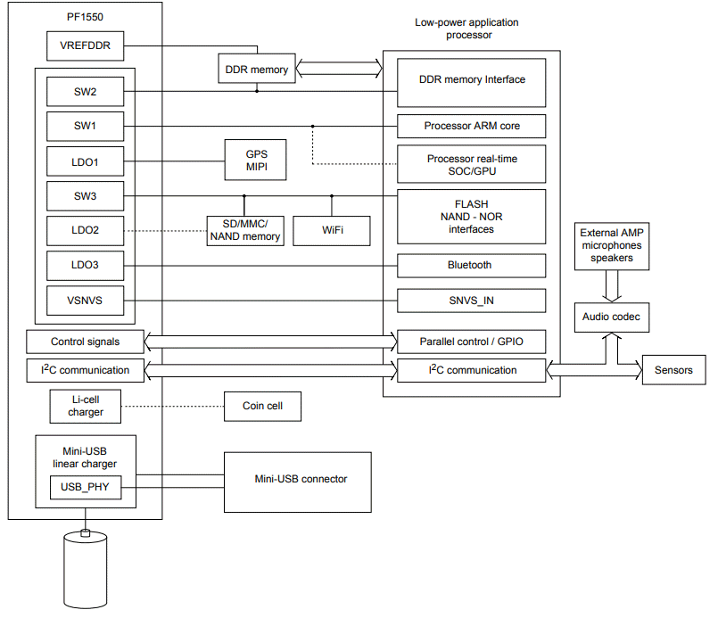
PF1550 PMICの機能ブロック図
PF1550 PMICの内部ブロック図
PF1550 PMICのアプリケーション回路
公開: 2018-08-07
| 更新済み: 2024-11-12
