NXP Semiconductors PCA2131 Nano-Power CMOSリアルタイムクロック (RTC)
NXP Semiconductors PCA2131 Nano-Power CMOSリアルタイムクロック(RTC) は、RTCとカレンダーで、オンチップ温度補償水晶(Xtal)発振器(TCXO) および32.768kHz水晶振動子が同じパッケージに統合されています。AEC-Q100準拠の PCA2131は、非常に高い精度と超低電力消費を目的に最適化されています。アドレスとデータは、選択可能な400kHzの高速モードI2Cバス、またはデータの入出力が独立した4線式SPIバス(最大速度6.5Mbit/s)によって転送されます。PCA2131には、主電源を監視するバックアップバッテリ入力ピンおよびバックアップバッテリスイッチオーバー回路があります。回路は、電源障害状態が検出されるとバックアップバッテリに自動的に切り替わり、主電源が中断されていても正確な計時を維持します。バッテリ低検出回路は、バッテリの状態を監視します。バッテリ電圧が特定の閾値を下回ると、フラグはバッテリをすぐに交換する必要があることを示します。これによって、バッテリバックアップ中のデータの整合性が保証されます。その他の機能には、プログラマブルウォッチドッグ機能、4つのタイムスタンプ機能、その他多数があります。
特徴
- AEC-Q100準拠
- 動作温度範囲:-40°C~+105°C
- 集積コンデンサがトリミングされている温度補償水晶発振器(TCXO)
- クロック動作最大+125°C
- 超低消費電流:106nA(代表値)(VDD = 3.3V時)
- 温度補償RTC標準精度
- -40°C~+85°Cで±3ppm
- +85°C~+105°Cで±8ppm
- 32.768kHz水晶振動子と発振器を同じパッケージに統合
- 年、月、日、曜日、時間、分、秒、1/100秒を表示します。
- うるう年の修正を実現
- タイムスタンプ機能
- 入力割り込み機能搭載
- 入力ピン4本で異なる4通りのイベント検出(例 改ざん検出用)
- 2線式双方向400kHz高速モードI2Cバスインターフェイス
- データ入力と出力を個別に搭載した4線式 SPIバス(最高速度6.5Mbit/s)
- バッテリバックアップ入力ピンとスイッチオーバー回路
- バッテリバックアップ出力電圧
- 低バッテリ検出機能
- パワーオンリセット(POR)
- パワーオン・リセット・オーバーライド(PORO)機能
- ソフトウェアのリセット機能
- 2つの割り込み入力(オープン-ドレイン)
- プログラマブル1秒または1分間割込
- プログラマブルウォッチドッグタイマ(割り込み機能搭載)
- プログラマブル・アラーム機能(割り込み機能搭載)
- プログラマブルスクエア出力
- クロック動作電圧: 1.2V ~ 5.5V
- パッケージ HLSON16
- 4.5mm x 3.5mm x 1.45mmボディ、0.5mmピッチ
- 0.125ディンプル・ウェッタブル・フランク
- 熱特性が改善された薄型の外形、リードなし
アプリケーション
- 電気、水道、ガスの電子メーター
- 精密な時間管理
- 1日の正確な時間へのアクセス
- 最初の修正までの時間を短縮するGPS機器
- 正確なプロセスタイミングを必要とするアプリケーション
- 自動無人動作時間が長い製品
- 自動車
- 車載用高性能計算
- コネクティッド・ラジオ
- デジタルクラスタ
- スマートカーアクセス
- V2X通信
ビデオ
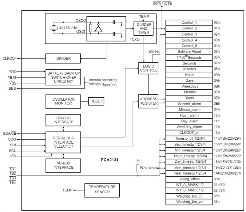
ブロック図
公開: 2024-05-22
| 更新済み: 2024-09-09
