NXP Semiconductors PCA85262車載用32x4 LCDドライバ
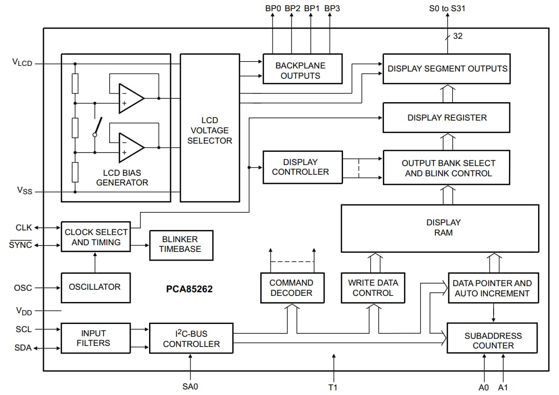
NXP PCA85262車載用32x4 LCDドライバは、ほとんどすべての低多重レートの液晶ディスプレイ(LCD)に接続できる周辺機器です。最大4つのバックパネルと最大32のエレメントを含む、静的または多重LCD用にドライブ信号を生成します。簡単に、より大きなLCDアプリケーション用にカスケード接続できます。PCA85262はほとんどのマイクロコントローラーに使用でき、2線の双方向I2Cバス(PCA8546A)を介して通信を行います。通信オーバーヘッドは、自動インクリメントアドレスを持つディスプレイRAM、ハードウェアサブアドレッシングによって、および表示メモリ切り替え(静的およびデュプレックス駆動モード)によって最小化されます。特徴
- AEC-Q100 grade 2 compliant for automotive applications
- Single-chip LCD controller and driver
- Selectable backplane drive configuration (static, 2, 3, or 4 backplane multiplexing)
- Selectable display bias configuration (static, 1/2, or 1/3)
- Internal LCD bias generation with voltage-follower buffers
- 32 segment drives
- Up to 16 7-segment numeric characters
- Up to 8 14-segment alphanumeric characters
- Any graphics of up to 128 elements
- 32x4-bit RAM for display data storage
- Display memory bank switching in static and duplex drive modes
- Versatile blinking modes
- Independent supplies possible for LCD and logic voltages
- 1.8V to 5.5V wide power supply range
- Wide logic LCD supply range
- From 2.5V for low-threshold LCDs
- Up to 8.0V for guest-host LCDs and high-threshold twisted nematic LCDs
- Low power consumption
- Extended temperature range up to 105°C
- 400kHz I2C-bus interface
- No external components required
- Manufactured in silicon gate CMOS process
Block Diagram
公開: 2015-04-28
| 更新済み: 2022-03-11
