NXP Semiconductors PTN3460I LVDSブリッジへのディスプレイポート
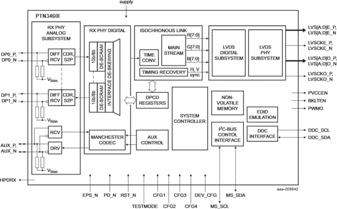
NXP PTN3460I LVDSブリッジへのディスプレイポートを使用すると、(組み込み)ディスプレイポート(eDP)ソースとLVDSディスプレイパネルの間の接続性が可能になります。受信ディスプレイポート(DP)ストリームを処理し、DPからLVDSへのプロトコル変換を実施して、LVDS方式で処理ストリームを送信します。The NXP PTN3460Iには2つの高速ポートがあります: DPソース側の受信ポート(例えばCPU/GPU/チップセット)およびLVDSレシーバ側のトランスミットポート(例えばLVDSディスプレイパネルコントローラ)。PTN3460Iは、DPストリームをリンクレート1.62 Gbit/sまたは2.7 Gbit/sで受信することができ、1レーンまたは2レーンのDP動作に対応できます。DPリンクのトレーニングとセットアップを目的として、DP補助(AUX)チャンネルトランザクション経由でDPソースと連動します。18ビット/ピクセルまたは24ビット/ピクセルの色深度および最大112 MHzのピクセルクロック周波数で、シングルバスまたはデュアルバスLVDSシグナリングに対応します。LVDSデータパッキングは、VESAまたはJEIDA形式のいずれかで行うことができます。また、DP AUXインターフェースは、I²C-オーバー-AUXコマンドを搬送し、LVDSパネルを用いたEDID-DDC通信に対応します。EDID ROMなしでパネルをサポートするために、PTN3460Iは、システムビデオBIOSでの特定の変化を回避するために、EDID ROMをエミュレートすることができます。The NXP PTN3460I has two high-speed ports: Receive port facing DP Source (for example, CPU/GPU/chipset) and a Transmit port facing the LVDS receiver (for example, LVDS display panel controller). The PTN3460I can receive DP stream at link rate 1.62Gbit/s or 2.7Gbit/s, and it can support 1-lane or 2-lane DP operation. It interacts with DP source via DP Auxiliary (AUX) channel transactions for DP link training and setup. It supports single bus or dual bus LVDS signaling with color depths of 18-bits per pixel or 24-bits per pixel and pixel clock frequency up to 112MHz.
The LVDS data packing can be done either in VESA or JEIDA format. Also, the DP AUX interface transports I2C-over-AUX commands and supports EDID-DDC communication with the LVDS panel. To support panels without EDID ROM, the PTN3460I can emulate EDID ROM behavior avoiding specific changes in system video BIOS.
特徴
- Embedded microcontroller and on-chip Non-Volatile Memory (NVM) allow for flexibility in firmware updates
- LVDS panel power-up (/down) sequencing control
- Firmware controlled panel power-up (/down) sequence timing parameters
- No external timing reference needed
- EDID ROM emulation to support panels with no EDID ROM
- Emulation ON/OFF is set via configuration pin CFG4
- Supports EDID structure v1.3
- On-chip EDID emulation up to seven different EDID data structures
- eDP complying PWM signal generation or PWM signal pass-through from eDP source
アプリケーション
- Industrial PC design
- Printer display
- Automotive dashboard display
- All in one platforms
- Notebook platforms
- Netbooks/net tops
Block Diagram
