NXP Semiconductors TJA1022デュアルLINトランシーバ
NXP Semiconductors TJA1022デュアルLINトランシーバは、ローカル相互接続ネットワーク(LIN)マスタ/スレーブプロトコルコントローラとLINネットワークの物理バスの間のインターフェイスを実現しています。TJA1022トランシーバは、主に20kBdまでのボーレートを使用した車載サブネットワークを対象としており、LIN 2,0、LIN 2.1 2.2、LIN 2.2A、ISO 17987-4: 2016(12V LIN)、SAE J2602に準拠しています。TJA1022TおよびTJA1022TK(SO14/HVSON14 パッケージ)は、TJA1020、TJA1021、TJA1027、TJA1029とピン互換性があります。TJA1022HG(DHVQFN24パッケージ)は、TJA1024とのピン互換性があります。TJA1022、TJA1024、TJA1027、TJA1029は、ソフトウェア互換性があります。NXP TJA1022は、プロトコルコントローラから送信されたデータを電磁放射(EME)を低減するように設計された最適化されたLINバス信号に変換します。LIN出力ピンは、終端レジスタを使用して内部的にHIGHにプルされます。マスターノード構成の場合、VBATピンと各LINピンの間に外付けレジスタとダイオードを接続する必要があります。LINバス上の受信データはレシーバによって検出され、RXD1およびRXD2ピン経由でマイクロコントローラに転送されます。トランシーバがスリープモードの場合、消費電力は非常に低くなります。ただし、TJA1022はLIN1/LIN2およびSLP1_N/SLP2_Nピン経由でウェイクアップできます。
特徴
- 2x LINトランシーバ(単一パッケージに格納)
- LIN 2,0、LIN 2.1、LIN 2.2、LIN 2.2A、ISO 17987-4: 2016(12V LIN)、SAE J2602に準拠
- 最大20kBdボーレート
- 超低電磁放射(EME)
- リモートLINウェイクアップを用いたスリープモードでの非常に低い電流消費
- 3.3Vおよび5Vデバイスとの互換性がある入力レベル
- LINスレーブアプリケーション用の統合終端レジスタ
- 電源オフ状態での受動動作
- クランキングパルス時の動作- 5V上からの完全動作
- 低電圧検出
- Kライン対応
- TJA1020 、 TJA1021 、 TJA1027 、 TJA1029 とのピン互換性がある14ピン型式
- TJA1024 の24ピン型式ピン互換サブセット
- TJA1024、TJA1027、 TJA1029とのソフトウェア互換性あり
- プロテクション
- 非常に高い電磁耐性(EMI)
- 非常に高いESD堅牢性- LIN1、LIN2、VBATピンを対象としたIEC 61000-4-2に準じた±8kV
- 車載環境における過渡に対して保護されたバス端子とバッテリピン(ISO 7637)
- バッテリと接地に対するバス端子短絡防止
- 熱保護
- 通常モードに切り替える際の初期TXDドミナントチェック
- TXDドミナント・タイムアウト機能
- パッケージのオプション
- SO14プラスチックパッケージ、3.9mmボディ幅
- 自動光学検査(AOI)機能が向上したプラスチック、リードレスHVSON14(3,0mm x 4.5mm x 0.85mm)
- AOI機能が改善されたプラスチック、デュアルインライン、リードレスDHVQFN24(3.5mm x 5.5mm x 0.85mm)
- ハロゲンフリー、RoHS準拠
アプリケーション
- ボディエレクトロニクス
- ウィンドウ・リフタ
- ドアモジュール
- シートコントローラ
- サンルーフシステム
- 内装照明制御
- 温度制御システム
- HVAC(過熱、換気、空調)モジュール
- ファンとフラップ制御装置
- インフォテインメントと快適性
- ステアリングホイール制御
- ミラー調整システム
- 周囲照明
- センサとアクチュエータ・インターフェイス
- 雨/光センサ
- 温度センサ
- モーター ドライバー
仕様
- バッテリ供給電圧範囲
- 制限値:-0.3V ~ +42V
- 5V~18Vでの動作
- バッテリ供給電流範囲
- スリープモードとスタンバイモードで2.5µA ~ 10µA
- 通常モードで300µA ~ 3,200µA
- LINピンでの±42V電圧
- スレーブ抵抗範囲:20kΩ ~ 60kΩ
- LINピンでの20pF最大容量
- 接合部対周囲熱抵抗
- SO14パッケージ向け145K/W
- HVSON14パッケージ向け50K/W
- 42.7K/W(DHVQFN24パッケージ用)
- -40°C ~ +150°C仮想接合部温度
- +150°C ~ +200°Cシャットダウン接合部温度範囲
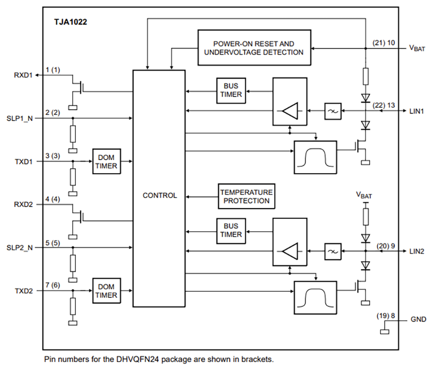
ブロック図
アプリケーション回路図
公開: 2025-09-09
| 更新済み: 2025-09-17
