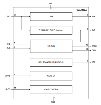
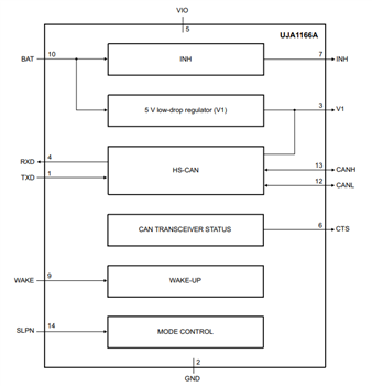
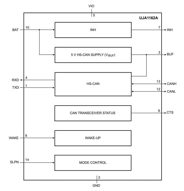
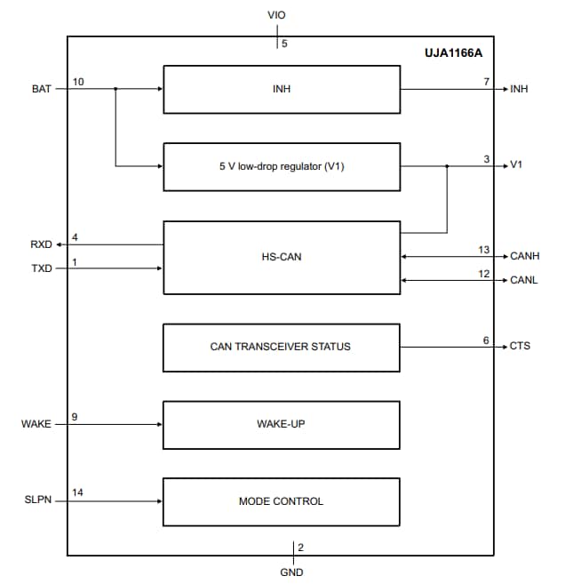
NXP UJA116xA Mini HS-CANトランシーバには、ISO 11898-2: 2016およびSAE J2284-1 to SAE J2284-5準拠のHS-CANトランシーバが搭載されています。また、集積5V低ドロップアウトレギュレータ電源(V1)とともに、マイクロコントローラおよびその他の最大100mAまでの負荷を対象とした最速5Mbit/sまでのCAN FDアクティブ通信も特徴です。UJA116xA SBCは、電流消費が非常に小さい待機モードとスリープモードでの動作が可能で、バス機能とローカルウェイクアップ機能が搭載されています。
特徴
- HS-CANは、最速5Mbit/sまでのCAN FDアクティブ通信など、ISO 11898-2:2016およびSAE J2284-1 to SAE J2284-5に準拠しています。
- パーシャル・ネットワーキングとCAN FDパッシブ・サポート(オプションの)
- ISO 11898-6に準じた自律バスバイアス
- 完全集積5V低ドロップアウトレギュレータで(出力電流能力100mA)
- オフボードでの使用を目的とした保護型5Vセンサ電源の型式(オプションの)
- 供給電流が極めて小さい待機モードとスリープモード
- ウィンドウ、タイムアウト、自律モード搭載のウォッチドッグ、マイクロコントローラに依存しないクロック源
- リモートおよびローカル・ウェイクアップ機能
- シリアル・ペリフェラル・インターフェイス(SPIバス)経由のモード制御
- 不揮発性メモリを使用した、選択された機能の簡単で安全な顧客プログラマブル構成
- 2Vの最低バッテリ電圧までのマイクロコントローラRAM保持の対応
- 自動光学的検査(AOI)機能が向上しており、熱抵抗が低いリードレスHVSON14パッケージ(3mm x 4.5mm)
- UJA116x製品ファミリとの互換性があるハードウェアとソフトウェア
- AEC-Q100 Rev-G規格に準拠した認定を取得済
アプリケーション
- 日よけ制御モジュール
- シートプリテンショナー
- ギアシフト制御
- タイヤ圧監視
- ウィンドウとドア制御
- ステアリング制御モジュール
- HVAC環境制御
型式表
View Results ( 11 ) Page
| 部品番号 | データシート | 説明 |
|---|---|---|
| UJA1164ATK/0Z | ![]() |
CAN インタフェース IC Mini high-speed CAN system basis chip with Standby mode & watchdog |
| UJA1167ATK/0Z | ![]() |
CAN インタフェース IC Mini high-speed CAN system basis chip with Standby/Sleep modes & watchdog |
| UJA1162ATK/0Z | ![]() |
CAN インタフェース IC Self-supplied high-speed CAN transceiver with Sleep mode |
| UJA1163ATK/0Z | ![]() |
CAN インタフェース IC Mini high-speed CAN system basis chip with Standby mode |
| UJA1161ATK/0Z | ![]() |
CAN インタフェース IC Self-supplied high-speed CAN transceiver with Standby mode |
| UJA1168ATK/0Z | ![]() |
CAN インタフェース IC Mini high-speed CAN system basis chip for partial networking |
| UJA1166ATK/0Z | ![]() |
CAN インタフェース IC Self-supplied high-speed CAN transceiver with Sleep mode |
| UJA1167ATK/X/0Z | ![]() |
CAN インタフェース IC Mini high-speed CAN system basis chip with Standby/Sleep modes & watchdog |
| UJA1168ATK/F/0Z | ![]() |
CAN インタフェース IC Mini high-speed CAN system basis chip for partial networking |
| UJA1168ATK/X/0Z | ![]() |
CAN インタフェース IC Mini high-speed CAN system basis chip for partial networking |
公開: 2021-06-21
| 更新済み: 2022-03-11

