onsemi NCV7446デュアルCAN FDトランシーバ
Onsemi NCV7446 デュアル・コントロール・エリア・ネットワーク(CAN) フレキシブル・データ (FD) トランシーバは、2チャネル物理層トランシーバです。このトランシーバにより、2つの独立したCAN物理バスと2つの独立したCANプロトコル・コントローラのインターフェイスが可能になります。NCV7446トランシーバには、バスへの差動送信能力およびCANコントローラへの差動受信能力があります。この トランシーバは、2つの完全に独立したNCV7344トランシーバで構成されます。NCV7446トランシーバは、1Mbpsを超えるデータレートで堅牢な通信を保証するため、追加のタイミングパラメータを保証します。Onsemi NCV7446は、CANバス経由のウェイクアップ機能が搭載された低電力モードを必要とするあらゆるタイプのHS-CANネットワーク・ノードに適しています。特徴
- 高速と低電力を実現
- デュアルCAN FD物理層トランシーバ
- 提供すること:
- バスへの差動送信能力
- CANコントローラへの差動受信機能
- 最速5Mbps CAN FDタイミング
- バス経由のウェイクアップを備えた超低電流スタンバイ・モード
- 低い電磁放射 (EME) と高い電磁耐性
- 電源が供給されていないノードでのバス路線が乱れていない
- 送信データ(TxD)ドミナントタイムアウト機能
- すべての供給条件の下での予測可能チップ動作
- バスピンのESD堅牢性が非常に高い
- サーマルプロテクション
- 供給電圧と接地に対する短絡を防止するバスピン
- バスピンは自動車環境で過渡現象から保護されています
- ISO 11898-2:2016規格に準拠
- AEC-Q100認定およびPPAP対応
アプリケーション
- 自動車
- 産業用ネットワーク
その他の資料
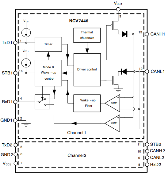
ブロック図
アプリケーション回路図
公開: 2020-06-08
| 更新済み: 2025-02-26
