onsemi NCx57252ゲートドライバ
Onsemi NCx57252ゲートドライバは、大電流デュアルチャンネル絶縁IGBT/MOSFETゲートドライバで、2.5kVrms または5kVrms 内部ガルバニック絶縁が各出力に備わっています。これらのドライバは、入力側で3.3V~20Vのバイアス電圧と信号レベル、および出力側で最大32Vのバイアス電圧を受け入れます。NCD(V)57252ゲートドライバは性能が安定しており、デュアル低圧側またはデュアル高圧側ハーフブリッジドライバとして設定できます。これらのゲートドライバは相補入力を受け入れ、システムの設計利便性のためにピンを個別に無効にしたりデッドタイムを制御できます。NCx57252ドライバは、即座のスイッチング動作をサポートしており、ワイドボディSOIC-16およびナローボディSOIC-16パッケージでご用意があります。これらのドライバは、車載、散魚、電気自動車(EV)の充電器、モーター制御、無停電電源(UPS)、ソーラーインバータでの使用に最適です。特徴
- 大ピーク出力電流(±6.5A、±3.5A)
- デュアル低圧側またはデュアル高圧側あるいはハーフブリッジドライバとして構成可能
- プログラマブル・オーバーラップまたはデッドタイム制御
- 電源シーケンシングを目的に、ピンを無効にして出力をOFFにする
- 単一の入力信号で動作するハーフブリッジドライバとして、ドライバをセットアップする柔軟性を提供するANB機能
- 短絡時のIGBT/MOSFETゲートクランプ
- 正確なマッチングによる短伝播遅延
- すべての電源での厳格なUVLO閾値
- 3.3V、5V、15Vロジック入力
- 入力から各出力への2.5kVrms または5kV rms ガルバニック絶縁、および出力チャンネル間の1.5kVrms 差動電圧
- 1,200V動作電圧(VDE0884-11要件に準拠)
- 高コモンモード過渡耐性
- 車載および固有のサイト・制御変更要件が必要になるその他のアプリケーションは(パーツ番号の)最初の3文字が「NCV」
- AEC-Q100認定済、PPAP対応
- Pbフリー、ハロゲンフリー/BFRフリー、RoHSに準拠
アプリケーション
- 車載
- 産業
- 電気自動車(EV)の充電器
- 無停電電源(UPS)
- 産業用電源
- モーター制御
- ソーラーインバータ
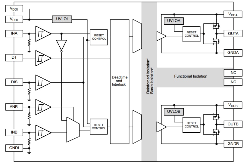
ブロック図
公開: 2021-05-27
| 更新済み: 2024-03-15
