onsemi FAN6248同期整流器コントローラ
onsemi FAN6248同期整流器(SR)コントローラは、LLC共振コンバータ用に最適化されています。これらのコントローラは、二次巻線の出力を整流するSR MOSFETを駆動するための2つのドライバ段を実現しています。FAN6248コントローラは、HAMXおよびFAN6248HBMXバージョンでご用意があります。FAN6248HAMXコントローラには高ターンオフ閾値電圧が備わっており、FAN6248HBMXコントローラには低ターンオフ閾値電圧が備わっています。その他の機能には、軽負荷検出、スタンバイ電流消費、SR電流反転検出があります。アプリケーションには、高電力密度のラップトップアダプタ、LCD-TV、PDP-TV、RP-TV電源、高電力LED照明があります。特徴
- Highly integrated self-contained control of synchronous rectifier with minimum external components
- Anti-shoot-through control for reliable SR operation
- Separate 100V rated sense inputs for sensing the drain and source voltage of each SR MOSFET
- Adaptive parasitic inductance compensation to minimize the body diode conduction
- Adaptive minimum on time for noise immunity
- High driver output voltage of 10.5V to drive all MOSFET brands to the lowest RDS_ON
仕様
- Up to 30V operating voltage range
- 25KHz to 700KHz operating frequency
アプリケーション
- High power density laptop adapter
- High power density adapter
- Large screen LCD-TV, PDP-TV, and RP-TV power
- High-efficiency desktop and server power supplies
- Networking and telecom power supplies
- High power LED lighting
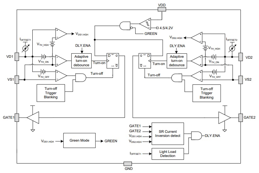
Block Diagram
公開: 2017-06-19
| 更新済み: 2022-03-11
