onsemi NCP110リニア電圧レギュレータ
onsemi NCP110リニア電圧レギュレータは、1.1Vの入力電圧から200mAの出力電流を供給する能力があります。これらの電圧レギュレータは、0.6V~4Vの広い出力範囲を実現しており、ノイズが非常に低く抑えられていて、電源除去比(PSRR)が高くなっています。NCP110レギュレータは、1μF入力および1μF出力のセラミック・コンデンサと共に作動するように設計されています。これらのリニア電圧レギュレータは、自己消費電流が低く抑えられており、スマートフォンやタブレットといったバッテリ駆動デバイスに適しています。一般的なアプリケーションには、バッテリ駆動機器、スマートフォン、デジタルカメラ、煙感知器、ポータブル医療機器、クロック電源、バッテリ駆動のワイヤレスIoTモジュールがあります。特徴
- 1.1V~5.5Vの動作入力電圧範囲
- 0.6V~4Vの固定電圧オプション
- 負荷/温度全体で±2%の精度
- 1µFの小型ケースサイズのセラミックコンデンサで安定的
- 利用可能:
- WLCSP4 0.65mm x 0.65mm x 0.33mm ケース567VS
- XDFN4 1mm x 1mm x 0.4mm ケース 711AJ
- これらのデバイスは無鉛、ハロゲンフリー/BFRフリーで、RoHSに準拠しています。
仕様
- 超低零入力電流: 20µA(typ)
- スタンバイ電流: 0.1A(typ)
- 70mVの1.05V @ 100mAの非常に低いドロップアウト
- 95dB高PSRR @ 20mA、1kHz周波数(typ)
- 超低ノイズ: 8.8µVRMS
アプリケーション
- バッテリ駆動機器
- スマートフォンとタブレット
- デジタルカメラ
- 煙探知器
- ポータブル医療機器
- RF、PLL、VCOとクロック電源
- バッテリ駆動ワイヤレスIoTモジュール
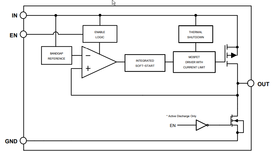
NCP110レギュレータのブロック図
NCP110の一般的なアプリケーション図
公開: 2018-07-10
| 更新済み: 2022-10-31
