onsemi NUD4700 LEDシャント
onsemi NUD4700 LEDシャントは、1W LEDでの使用を前提に設計されています(通常、350mA @ 3V)。これらのシャントは、シングルLEDが開回路になると電流バイパスを提供します。 NUD4700 LEDシャントは、LEDの交換後やシャントの回復後に自動でリセットされます。これらのシャントは、標準オン状態電圧1V、オフ状態電流250µA以下が特長です。NUD4700 LEDシャントは、AEC-Q101認定済みでPPAPに対応しています。これらのシャントは、Pbフリー、ハロゲンフリー/BFRフリーで、RoHSに準拠しています。 代表的なアプリケーションは、予知保全が困難なLED、LEDヘッドライト、高信頼性を維持する必要があるLED、開回路状態に対するクロウバー保護などです。特徴
- シンプルな2端子デバイス
- LEDの交換後や回復後に自動的にリセット
- オン状態抵抗 1V (Typ)
- オフ状態電流 250μA以下
- 白色パッケージで供給
- AEC-Q101認定およびPPAP対応
- 鉛フリー、ハロゲンフリー/BFRフリー
- RoHS準拠
アプリケーション
- 予知保全が困難なLED
- LEDヘッドライト
- 高信頼性を維持する必要があるLED
- 開回路状態に対するクロウバー保護
- 高感度回路の過電圧保護
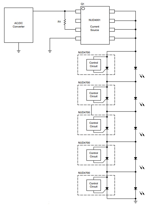
標準アプリケーション回路
その他の資料
公開: 2025-11-10
| 更新済み: 2025-11-20
