Texas Instruments LP5899/LP5899-Q1 LEDドライバ
Texas Instruments LP5899/LP5899-Q1 LEDドライバは、SPI対応デバイスで、LP589x/LP589x-Q1ファミリに必要な連続クロックを生成する内部発振器を搭載しています。これらのLEDドライバは、LP589x/LP589x-Q1 のデイジーチェーンおよび LP5899/LP5899-Q1 の内部故障の両方についての故障報告機能を搭載しています。LP5899/LP5899-Q1デバイスは、LP589x/LP589x-Q1ファミリのLEDドライバを任意の数だけカスケード接続して駆動できますが、カスケード接続できる最大デバイス数はLEDドライバによって制限されます。これらのLEDドライバは、-40°Cから125°C の温度範囲で動作します。LP5899/LP5899-Q1ドライバは、LP5891/LP5891-Q1およびLP5892/LP5892-Q1デバイスとのSPI対応接続に最適です。Texas Instruments LP5899-Q1デバイスは、車載用アプリケーションのAEC-Q100認定を取得しています。特徴
- 自動車アプリケーション向けAEC-Q100認定:
- Grade 1: -40°C~125°Cの周囲温度範囲
- デバイスHBM分類レベルH3A
- デバイスCDM分類レベルC5
- 動作電圧範囲(VCC):2.5V~5.5V
- SPIペリフェラル:
- 最大20MHzのデータ転送レート
- コントローラ1台で複数の周辺機器をサポート
- 連続クロックシリアルインターフェイス(CCSI)コントローラおよびペリフェラル:
- EMI拡張用のプログラマブルクロックジッタ
- 診断:
- オープンドレイン障害ピン
- SPI通信損失検出
- SPI通信用CRC
- CCSIデータ整合性
- データの可用性を目的としたデータ対応割り込み
アプリケーション
- LP5891-Q1およびLP5892-Q1デバイスとのSPI対応接続
アプリケーション図
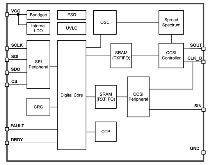
機能ブロック図
公開: 2025-01-13
| 更新済み: 2025-05-09
