Renesas RC190xxA PCIe Gen5/6クロックバッファとマルチプレクサは、拡張動作温度に対応しており小型パッケージに収められています。
特徴
- 低付加位相ジッタ
- 6fs RMS PCIe Gen5付加位相ジッタ
- 4fs RMS PCIe Gen6付加位相ジッタ
- <1.5ns(最大)入出力伝搬遅延
- パワーダウン許容(PDT)入力、柔軟性に富んだ起動シーケンシング(FSS)
- 自動クロックパーキング(ACP)
- ピンまたはSMBusから選択できる出力スルーレート
- 4線式サイドバンド・インターフェイス
- 9通りの選択可能なSMBusアドレス
- SMBus書き込み保護お
- 85Ωまたは100Ω出力インピーダンス製品(オプション)
- -40~+105°C、3.3V±10%(動作)
アプリケーション
- クラウド/高性能コンピューティング
- nVMEストレージ
- ネットワーク
- アクセラレータ
- コンピューティング
- 産業
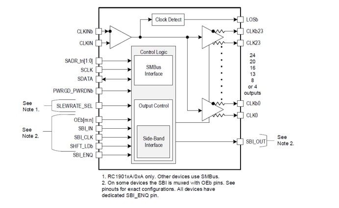
ブロック図
公開: 2022-01-24
| 更新済み: 2022-07-21

