Renesas Electronics RC38x12 FemtoClock®3ワイヤレスシンセサイザ
Renesas Electronics RC38x12 FemtoClock®3ワイヤレス3チャネル超低位相ノイズシンクロナイザとジッタ・アッテネータには、RC38312とRC38112デバイスが含まれています。これらのデバイスは、超低位相ノイズ無線シンクロナイザ、多周波クロックシンセサイザ、デジタル制御オシレータ(DCO)です。RC38x12は、5G無線ユニット(RU)、分配ユニット(DU)、およびネットワークスイッチ/ルーター向けに卓越した性能を発揮します。超低帯域の位相ノイズと大幅に低減されたスプリアスレベルでクロックを出力できるため、4G/5G RFトランシーバの信頼性と効率が向上します。ルネサス エレクトロニクス (Renesas Electronics) RC38x12は、リファレンスクロックのジッタに対して高いマージンを提供し、最大3つの同期ドメインと4つの周波数ドメインを備えているため、設計者はPCB設計全体を簡素化し、CPRIまたはeCPRIを介した同期およびRFクロック生成の両方をサポートする単一のタイミングソリューションを実現できます。このデバイスは、低消費電力と小型化を提供しながら、超低ジッタを実現し、5Gおよび5G-AのBTS無線ユニット設計に不可欠な超低位相コヒーレンスを維持します。柔軟性を提供するRC38x12は、外部リファレンスクロックまたはフリーランニング水晶/発振器へのロックを可能にします。このデバイスは、過剰なタイミングソース間での切り替え時でも中断のないサービスを保証するヒットレスリファレンススイッチ機能を備えており、通信アプリケーション全体で堅牢かつ正確なタイミングを提供するための理想的な選択肢となっています。
特徴
- 25fs RMS以下のジッタを実現(4MHzのHPFで12kHz〜20MHz時)する超低位相ノイズシンセサイザ
- 3つの独立した低位相ノイズ同期ドメイン
- 4つの独立した低位相ノイズ周波数ドメイン
- JESD204B/Cをサポート
- 時間 - デジタルコンバータ(TDC)、Time-of-Day(TOD)カウンタ、PTPクロックを備えた時刻同期ブロック
- 独立した整数分周器を備えた12のクロック出力
- 8:LVDS、HCSL(AC-LVPECL)またはCML
- 4:LVDS、HCSL(AC-LVPECL)またはLVCMOS
- 出力周波数範囲
- CML:DC〜2.5GHz
- LVDSまたはHCSL:DC〜1GHz
- LVCMOS:DC〜250MHz
- 4つの差動またはシングルエンドクロック入力
- 1.8Vの単一電源で動作
- デバイスの電源オフ時に1.8V入力に耐えるクロック入力、シンクは1mA未満
- CLKINの入力周波数範囲:DC〜1GHz
- 時刻同期TDCは1PPSおよびPP2S入力をサポート
- DPLLはITU-T G.8262およびG.8262.1に準拠
- DPLLの入出力位相差:≤100ps
- DCOの周波数分解能:<>
- 9mm × 9mm 100-BGAパッケージ
アプリケーション
- 5G無線ユニット(RU)
- Precision Time Protocol(PTP)ベースのクロック用の高性能DCO
- 5G分配ユニット(DU)、スイッチ、ルーター
- 112Gbpsおよび224Gbps SerDes用のリファレンスクロック
標準的な5G無線ユニットの使用例
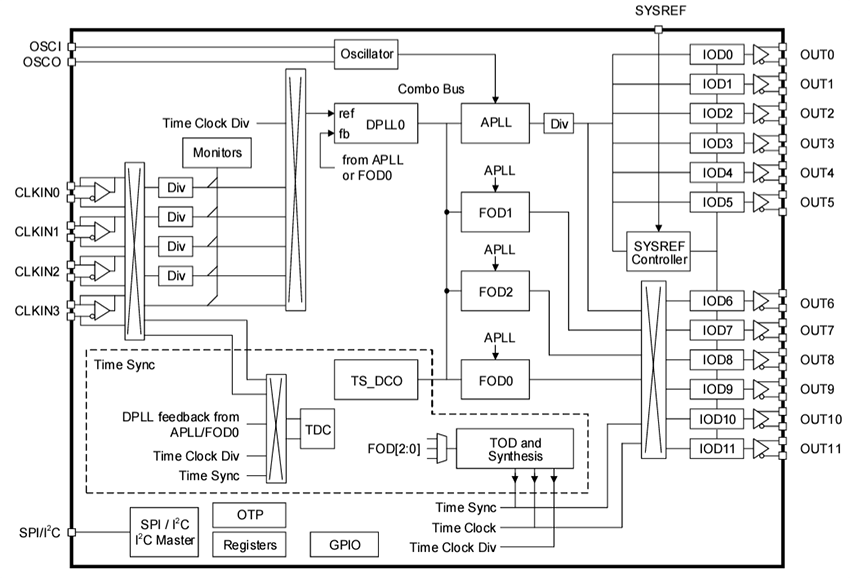
RC38112ブロック図
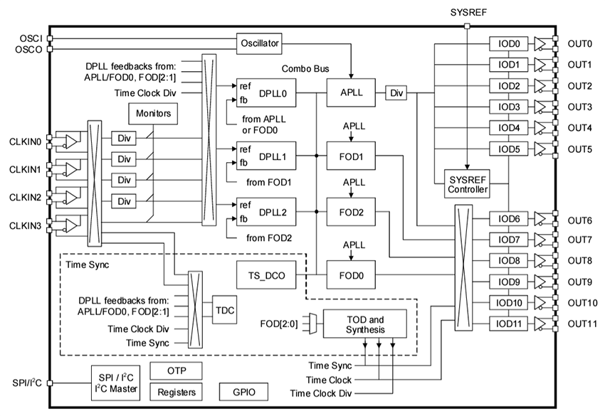
RC38312ブロック図
公開: 2024-10-11
| 更新済み: 2024-12-02
