Renesas Electronics RL78/G22静電容量式タッチ評価システム
Renesas ElectronicsRL78/G22静電容量式タッチ評価システムは、マイクロコントローラのRL78/G22を評価するために設計されたキットです。このキットは、さまざまなタッチ機能 (ボタン、スライダー、およびホイール) を評価し、ボードまたはソフトウェアを設計する際のリファレンスとして機能します。RL78/G22キットには、E2/E2 Liteデバッガコネクタ、汎用のスイッチとLED、静電容量式タッチセンサ(CTSU2La) (29チャネルが利用可能) が含まれています。 RL78/G22静電容量式タッチ評価システムは、IEC 61000-4-3 および IEC 61000-4-6 レベル3に準拠しています。特徴
- E2/E2ライトデバッガコネクタマイクロコントローラのプログラミングとデバッグ
- 汎用スイッチとLED
- さまざまなタッチ機能 (ボタン、スライダー、およびホイール) を評価する
- シンプルなプロトタイピング
- ボード設計やソフトウェア設計の参考に使用
- RL78/G22MCU (R7F102GGE2DFB) 搭載
- 静電容量式タッチセンサ(CTSU2La)端子29チャンネルが利用可能
- 静電容量タッチにQEを使用することで感度を簡単に調整
- 使い勝手の良いインターフェイスによる簡単操作
- GUIの初心者でも簡単にタッチ・インターフェイスを開発可能
- 自動的に出力調整されたソースコード
- IEC 61000-4-3 および IEC 61000-4-6 レベル3に準拠
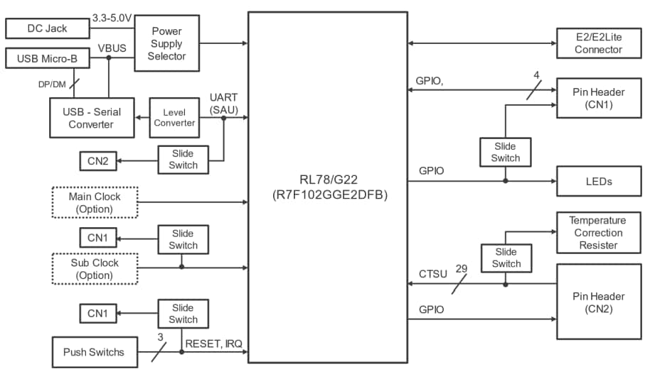
ブロック図
その他のリソース
- アプリケーションノート:RL78/G22静電容量式タッチ低電力ガイド
- アプリケーションノート:静電容量式センサMCU
- アプリケーションノート:RL78 CTSUモジュールソフトウェア統合システム
- アプリケーションノート:RL78タッチモジュールソフトウェア統合システム
- アプリケーションノート:MCU静電容量式タッチノイズ耐性ガイド
- アプリケーションノート:静電容量式タッチアプリケーションを開発するため、QEおよびSIを使用したRL78
- アプリケーションノート:CTSU静電容量式タッチ導入ガイド
- アプリケーションノート:RA、RL78、RX、Synergy CTSU自己テストソフトウェア
- アプリケーションノート:RL78/G22静電容量式タッチ評価システムのサンプルコード
- アプリケーションノート:MEC機能を使用したRL78/G22サンプルS/W UIデモ
- アプリケーションノート:CTSU静電容量式タッチ電極設計ガイド
公開: 2023-03-24
| 更新済み: 2023-10-02
