Renesas Electronics RZ/N1L32 ビット マイクロコントローラー
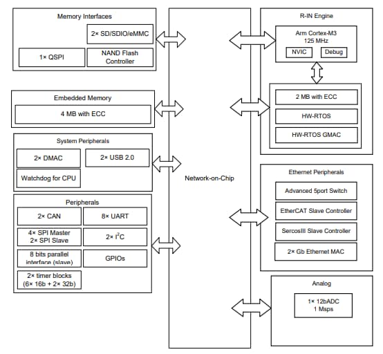
Renesas ElectronicsRZ/N1L32 ビット マイクロコントローラーは、デュアル500MHzArm® Cortex®-A7 CPU、および125MHzの Cortex®-M3 に基づく産業用通信組み込みソリューションです。これらの MCU は、32kHzRTC 発振器周波数を提供します。RZ/N1LMCU は、オンチップ FPU、ECC を備えた最大6Mbytesのオンチップ拡張 SRAM、および高度な5ポート イーサネット スイッチを含む拡張イーサネット機能を備えています。これらの MCU は、独立した イーサネット GMAC も備えており、EtherCAT® 、Sercos® 、Profinet® 、ETHERNET Powerlink® 、イーサネット/IP™、DLR、PRP、および HSR をサポートします。特徴
- オンチップ 32 ビット ArmCortex-A7MPコア:
- 最大500MHz
- シングルコアまたはデュアルコア
- FPU、VFPv4-D16
- MMU
- L1 キャッシュ16KB(命令)/コアあたり 16KB (データ)
- 256KBまでの L2 キャッシュ
- オンチップ 32 ビット ArmCortex-M3プロセッサー:
- 最大125MHz
- 対応しているメモリー保護装置(MPU)
- 低消費電力機能:
- クロックゲーティング管理
- クロック周波数スケーリング
- オンチップ拡張SRAM:
- ECC 付き最大6MB
- データ転送:
- 2 x DMAC(各8チャンネル)
- メモリインターフェイス:
- 最大 2 x クワッドSPI/XIP
- 高度ECC管理によるNANDフラッシュ
- 16ビットDDRインターフェイス(DDR2-500/DDR3-1000)
- 最大 2 x SD/SDIO/eMMC
- R-INエンジン:
- ArmCortex-M3CPU
- ハードウェアRTOSアクセラレーター(HW-RTOS)
- ハードウェアイーサネットアクセラレーター
- 高度リアルタイムイーサネット機能:
- SercosIII スレーブ コントローラー
- EtherCAT3ポート スレーブ コントローラー
- 高度5(4 + 1)ポートスイッチ(A5PSW)
- QoSとIEEE1588で5つのポートをスイッチ
- 最大5Gbitポート
- IEC62439-3 Ed2.0-2012に準拠したPRP(オプション)
- QoSとIEEE1588で5つのポートをスイッチ
- IEC62439-3 Ed2.0-2012に準拠したHSR(オプション)
- 最大2つの独立したGMACおよびIEEE1588
- MII/RMII / RGMIIで最大5つの外部ポート
その他のリソース
ブロック図
公開: 2020-10-14
| 更新済み: 2023-05-31
