特徴
- AEC-Q100認定を取得済
- 送信速度40kbps~1Mbps
- 省電力モード対応
- 劣性バスレベルを安定させるためのSPLIT電圧出力
- 低電圧検出機能
- 熱シャットダウン(TSD)機能
- TXDドミナント・タイムアウト機能(通常モード)
- CANバス・ドミナント・タイムアウト機能(待機モード)
- バスウェイクアップ機能
仕様
- 推奨動作電圧範囲4.75V~5.25V
- -0.3V~+7.0V VCC、TXD、RXD、STB絶対最大定格
- -27V~+40V CANH、CANL、SPLIT絶対最大定格
アプリケーション
- 自動車ネットワークのCAN通信
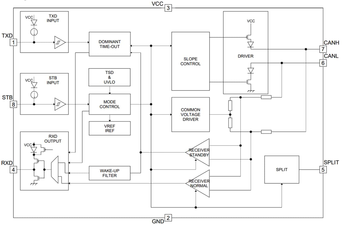
ブロック図
公開: 2022-05-27
| 更新済み: 2022-05-31
