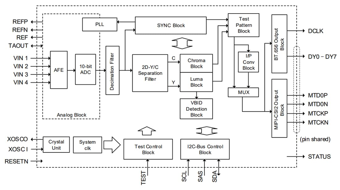
ROHM Semiconductor LAPIS ML86112のコンポジット信号は、2次元Y/C分離フィルタにより輝度信号とクロミナンス信号に分離され、デジタルビデオ信号として出力されます。ビデオ信号は、内蔵PLLによるラインロッククロックサンプリング方式でサンプリングされます。MIPI-CSI2の出力フォーマットはYUV422 8ビットです。LVTLのフォーマットはITU-R BT.601/BT.656 YCbCr標準デジタルフォーマットです。
特徴
- アナログビデオデコーダ
- 入力フォーマット
- NTSC-M、J、443
- PAL-B、B1、D、G、H、I、K、M、N、Nc、60
- アナログ入力ポート
- シングルエンドコンポジットビデオ入力:4チャンネル
- 差動コンポジットビデオ入力:2チャンネル
- 入力フォーマット
- A/Dコンバータ:10ビットADC
- 発振器バッファ搭載:リファレンスクロックとして水晶発振器(32MHzまたは25MHz)を外付け
- サンプリング周波数
- NTSC(ITU-R BT.601):27.0000MHz
- NTSC(正方画素):24.5454MHz
- NTSC(4fsc):28.6363MHz
- PAL(ITU-R BT.601):27.0000MHz
- PAL(正方画素):29.5000MHz
- サンプリング方式:ラインロッククロックサンプリング方式
- Y/C分離:適応型2次元Y/C分離フィルタ
- 輝度レベル調整:AGC(オート輝度調整)、MGC(マニュアル輝度調整)、ピークAGC
- 色レベル調整:ACC(オート色調整)またはMCC(マニュアル色調整)
- コントラスト調整:128を中心に1/32〜63/32の間で調整可能
- 輝度オフセット調整:-7IRE~7IREの間で調整可能
- 輪郭補正:高域の周波数(輝度信号)を強調
- 色相調整:-180°〜180°の間で調整可能
- CTI:色レベル変化の改善
- 入力ビデオ信号方式の自動判定:NTSC/PAL自動認識(ITU-R BT.601モードおよびNTSC 4fscモード時)
- VBIデータ検出
- クローズドキャプション:NTSC用
- CGMS:NTSC用
- WSS:PAL用
- IP変換関数:フィールド内補間
- クロック:MIPI-CSI2 PLLはラインロックPLLをリファレンスクロックとして使用
- デジタルビデオ出力
- MIPI-CSI2出力またはLVTTL出力(BT.656)選択可能
- MIPI-CSI2 トランスミッタ(1レーン)を搭載
- 出力フォーマット
- MIPI-CSI2:YUV422 8ビット
- 連続クロック動作
- 外部ピン/レジスタ制御で出力停止可能(LPモード)
- LVTTL:ITU-R BT.656-4(同期情報付き YCbCr4:2:2 8ビット)
- MIPI-CSI2:YUV422 8ビット
- 出力周波数
- MIPI-CSI2:196.4M~472Mbps
- LVTL
- 24.5454MHz〜59MHz(シングルエッジクロック)
- 12.2727MHz〜29.5MHz(デュアルエッジクロック)
- ピクセル周波数:12.2727MHz〜29.5MHz
- 検出機能:入力同期検出
- STATUS出力:オープンドレイン出力(1.8V~3.6V 外部プルアップ)
- スリープ機能:レジスタ制御でスリープ可能
- ホストインターフェイス
- I2Cスレーブ、最大400kHz
- スレーブアドレス:80h(1000_000x)、82h(1000_001x)を選択可能
- 電源電圧
- I/O部:3.3V ±0.3V
- アナログ部(AFE/ADC):3.3V ±0.3V
- MIPI-Tx部(HSドライバ):3.3V ±0.3V
- ロジックコア部:1.2V ±0.06V
- PLL部:1.2V ±0.06V
- MIPI-Tx部(PLL/LPドライバ):1.2V ±0.06V
- I/O部:3.3V ±0.3V
- 動作温度(周囲温度):-40°C〜+105°C
- パッケージ
- 32ピン 0.5ピッチ プラスチックWQFN(WQFN32-0505-0.50)
- ウェッタブルフランク、露出パッド(裏面GND)
アプリケーション
- カーナビゲーション
- ディスプレイオーディオ
- RSE(リアシートエンターテイメント)
ブロック図
公開: 2024-11-25
| 更新済み: 2024-12-31
