Texas Instruments LMK5C22212AS1 ネットワーク・シンクロナイザ
Texas Instruments LMK5C22212AS1 ネットワーク・シンクロナイザは、無線通信およびインフラ・アプリケーションの厳しい要件を満たすように設計された、高性能ネットワーク・シンクロナイザおよびジッタ・クリーナです。本デバイスは、IEEE-1588 PTPをプライマリ基準クロック・ソースと同期するためのソフトウェア・サポートがバンドルされたデバイスです。ネットワーク・シンクロナイザは、ループ帯域幅がプログラム可能で外部ループ・フィルタを使用しないヒットレス・スイッチングとジッタ減衰を実現するために、2つのDPLLを内蔵しており、最大限の柔軟性と使いやすさを備えています。各DPLLは、対になったAPLLをリファレンス入力に位相固定します。APLL1は、BAW APLLとして知られるTI独自のバルク弾性波 (BAW) 技術を採用した超高性能PLLを特長としています。XOおよびDPLLリファレンス入力のジッタにも周波数にも無関係に、40fs (標準値)/60fs (最大値)、12kHz~20MHz RMSジッタ (491.52MHz 時) で、出力クロックを生成できます。APLL2/DPLL2には、2番目の周波数ドメイン、同期ドメインのオプションがあります。
リファレンス検証回路は、DPLL基準クロックを監視し、スイッチオーバー・イベントを検出すると入力間でヒットレス・スイッチングを実行します。ゼロ遅延モード (ZDM) と位相キャンセルを有効にすることで、入力と出力の位相関係を制御できます。本デバイスは、SPIまたはI2Cを介して完全にプログラム可能です。内蔵EEPROMを使用して、システムの起動クロックをカスタマイズできます。また、本デバイスには出荷時デフォルトのROMプロファイルもフォールバック・オプションとして用意されています。
特徴
- 超低ジッタBAW VCOベースの無線インフラとイーサネット・クロック
- 491.52MHzでのRMSジッタ40fs (標準値)/57fs (最大値)
- 245.76MHzでのRMSジッタ50fs (標準値)/62fs (最大値)
- 2つのアナログ位相ロック ループ (APLL) による2つの高性能デジタル位相ロック・ループ (DPLL)
- 1mHz~4kHzにプログラム可能なDPLLループ・フィルタの帯域幅
- 1ppt未満のDCO周波数調整ステップ・サイズ
- 2つの差動入力またはシングルエンドDPLL入力
- 800MHzの入力周波数に対して1Hz(1PPS)
- デジタルホールドオーバーとヒットレススイッチング
- プログラム可能なHSDS、AC-LVPECL、LVDS、HSCL 形式による、12の差動出力
- 最大16個の合計周波数出力 (OUT0_P/N、OUT1_P/N、GPIO1、GPIO2の6つのLVCMOS周波数出力と、OUT2_P/N~OUT11_P/Nまでの10個の差動出力で構成した場合)
- プログラム可能なスイングおよび同相モードによる1Hz (1PPS)~1250MHzの出力周波数
- PCIe Gen1~6準拠
- I2Cまたは3線式/4線式SPI
アプリケーション
- 4G、および5G無線ネットワーク
- アクティブアンテナシステム(AAS)、mMIMO
- マクロリモート無線ユニット(RRU)
- CPRI/eCPRIベースバンド、集中、分散ユニット(BBU、CU、DU)
- スモールセル用基地局
- SyncE(G.8262)、SONET/SDH(Stratum 3/3E、G.813、GR-1244、GR-253)、IEEE-1588 PTP二次クロック
- 112G/224G PAM4 SerDesのジッタクリーニング、ワンダ減衰、リファレンスクロック生成
- 光伝送ネットワーク(OTN G.709)
- ブロードバンド固定回線アクセス
- 産業用(試験および測定機器)
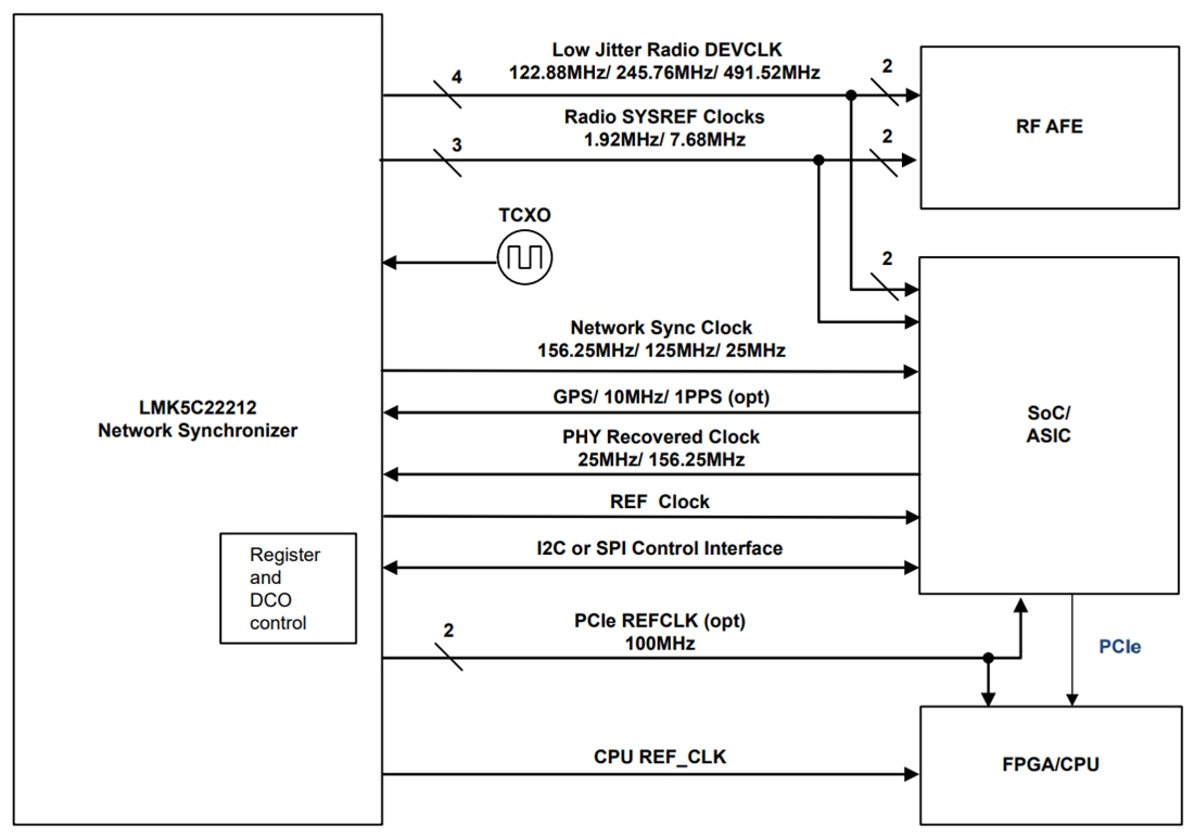
システムブロック図
公開: 2025-03-19
| 更新済み: 2025-04-01
