Toshiba TMPM4K グループ (1) 32ビット対応マイクロコントローラ
東芝TMPM4Kグループ(1)32 ビットマイクロコントローラは、高性能Arm®Cortex®-M4プロセッサ(FPU 内蔵)をベースにしています。1MHz~120MHzの周波数範囲、2.7V~5.5Vの電圧範囲で動作します。TMPM4K マイクロコントローラは、IEC 60730 クラスB、およびその他の規格に準じた機能安全認証に対応する自己診断機能で構成されています。このマイクロコントローラは、エンコーダインターフェイスとプログラム可能なモータ制御機能を搭載しており、モータ制御中のCPU負荷を低減します。TMPM4K マイクロコントローラは、12ビット対応アナログデジタルコンバータ (ADC)、DMAコントローラ (DMAC)、CRC計算回路 (CRC)、非同期シリアル通信回路 (UART)、トリガ選択 (TRGSEL) 回路が特徴です。このマイクロコントローラは、モーター、洗濯機、冷蔵庫、産業機器といったアプリケーションで使用されます。特徴
- Arm®Cortex®-M4プロセッサ(FPU内蔵)
- 1MHz~120MHz動作周波数範囲
- メモリ保護ユニット(MPU)をサポート
- フラッシュメモリ:128KB〜256KB
- 動作範囲
- 電圧範囲 2.7V~5.5V
- IDLEモードおよびSTOP1モードは、低消費電力モード
- 内部メモリ
- コードフラッシュは128KB〜256KBの容量を持ち、最大100,000回の書き換えに対応
- 18KB RAM、パリティサポート
- クロック
- 外部高速発振器(EHOSC):6MHz〜24MHz(セラミックおよび水晶発振器)
- 外部高速クロック入力(EHCLKIN):6MHz〜 ~ 24MHz
- 10MHzは、ユーザートリミング内部高速発振器(IHOSC1)をサポート
- 120MHz PLL
- 高度にプログラム可能なモーター制御回路(A-PMD)
- 1x〜2xチャネル
- 3相補完PWM出力と12ビットADCによる同期動作
- 3相インタリーブPFC制御に対応
- 外部入力(EMGピンおよびOVVピン)による非常停止機能
- 高度なエンコーダ入力回路(32ビット、A-ENC32)
- 2チャンネル
- エンコーダ/センサ(3種類)/タイマ/位相カウンターモード
- 32ビットタイマイベントカウンタ(T32A)
- 6チャネルが32ビットタイマ、12チャネルが16ビットタイマとして機能
- インターバルタイマ、イベントカウンタ、入力キャプチャ、2相プラスカウント、PPG出力、同期開始、トリガーによる開始/停止
- クロック選択型Watchdogタイマ(SIWDT)
- 1チャネル
- システムクロック以外のクロックをソースクロックとして選択可能
- ウィンドウのクリア、割り込み、またはリセット出力を選択可能
- I2Cインターフェイス
- 1チャネル、マルチマスタI2C インターフェイス
- 1チャネル、マルチマスタ、10ビットアドレス指定I2CインターフェイスバージョンA(EI2C)
- 12ビットADコンバータ(ADC)
- 2xユニット、9x~12xアナログ入力
- 変換時間: 0.73µs @ fSCLK = 30MHz
- 自己機能診断サポート
- 各ユニットの変換結果の機能の比較
- パッケージ
- LQFP64 10mm x 10mm、0.5mmピッチ
- LQFP48 7mm x 7mm、0.5mmピッチ
- LQFP44 10mm x 10mm、0.8mmピッチ
アプリケーション
- 産業
- インバータ
- モーター機器
- パワーコンディショナ
- ロボット
- コンシューマー
- エアコン
- 洗濯機
- 冷蔵庫
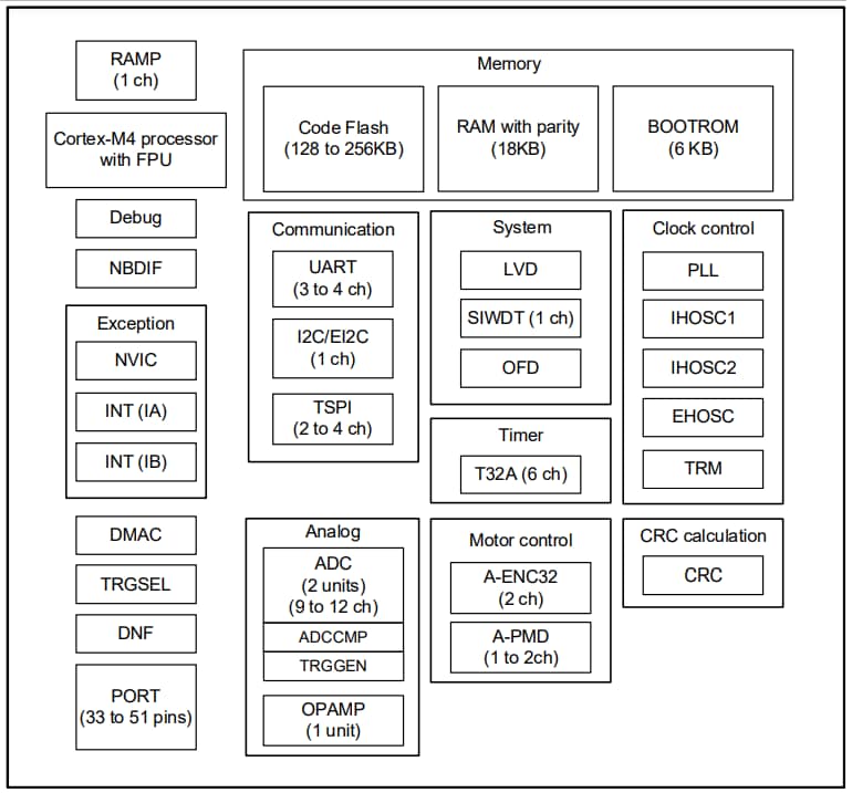
ブロック図
公開: 2025-02-20
| 更新済み: 2025-08-28
