Semtech GS12341 Reclocking Adaptive Cable Equalizers
Semtech GS12341 Reclocking Adaptive Cable Equalizers are optimized for performance at 11.88Gbps and supports rates up to 12G UHD-SDI. These Semtech equalizers restore signals received over 80m coaxial cable at 12G, compensate for DC content of SMPTE pathological signals, and relock the incoming data. The GS12341 equalizers support SMPTE ST 2082-1 (12G UHD-SDI), ST2081-1 (6G UHD-SDI), ST 424 (3G SDI), ST 292-1 (HD-SDI), and ST 259 (SD-SDI) signals. These equalizers also support DVB-ASI re-timing at 270Mbps and MADI at 125Mbps. The GS12341 equalizers compensate for long trace and connector losses through highly configurable pre-emphasis and swing controls. These equalizers are ideal for use in cameras, monitors, and switchers.Features
- 75Ω cable input interface with on-chip termination
- SMPTE ST 2082-1, ST 2081-1, ST 424, ST 292-1, and ST 259 compliant input/output
- Multi-standard operation from 1Mb/s to 11.88Gb/s
- Supports reclocking of DVB-ASI at 270Mb/s and MADI at 125Mb/s
- 3D input signal eye monitor
- PRBS generator and checker
- Automatic cable equalization with typical equalized cable lengths of Belden 1694A cable:
- 80m @ 11.88Gb/s
- 100m @ 5.94Gb/s
- 190m @ 2.97Gb/s
- 260m @ 1.485Gb/s
- 450m @ 270Mb/s and 125Mb/s
- Cable equalizer
- Improved reach with stress patterns
- Automatic power down on loss of signal
- Programmable carrier detect with squelch threshold adjustment
- Programmable launch swing compensation for non-compliant source
- Manual and automatic cable equalizer bypass
- Trace driver
- Integrated 100Ω differential output termination
- Extends output DC-coupling support with 1.2V to 2.5V output supply range
- Trace driver data output pre-emphasis to compensate for up to 20” FR4 at 11.88Gb/s
- Manual or automatic reclocker bypass
- Manual or automatic mute or disable on LOS
- Reclocker
- Manual or automatic rate modes
- Wide Loop bandwidth control
- 125Mb/s, 270Mb/s, 1.485Gb/s, 2.97Gb/s, 5.94Gb/s, and 11.88Gb/s reclocking
Applications
- Cameras
- Monitors
- Switchers
Specifications
- Single 1.8V power supply for analog and digital core
- GSPI serial control and monitoring interface
- 4x configurable GPIO pins for control or status monitoring
- -40°C to +85°C wide operating temperature range
- Small 6mm x 4mm 40-pin QFN
- Pin-compatible with the GS12241, GS12141, GS12142, and GS3241
- Lead-free/halogen-free
- RoHS and WEEE compliant package
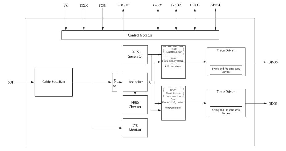
Block Diagram
Typical Application Circuit
公開: 2019-11-27
| 更新済み: 2023-06-15
