Silicon Labs Ember EM358x ARM SoCs with Integrated Zigbee
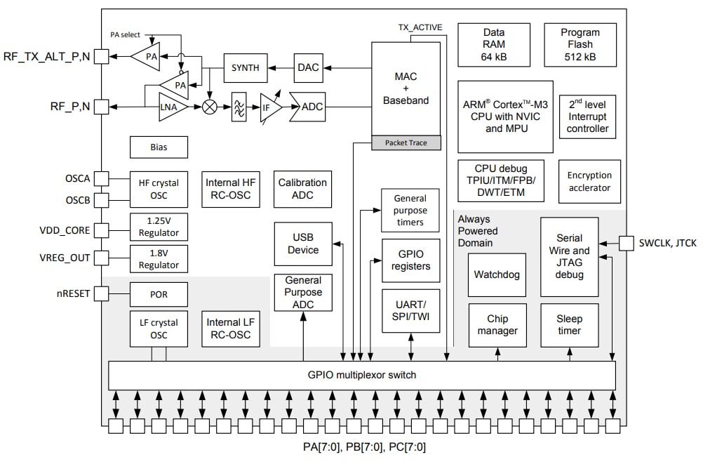
Silicon Labs Ember EM358x ARM SoCs integrates a 2.4GHz IEEE 802.15.4 radio transceiver, 32-bit ARM Cortex™ microprocessor, flash memory, and RAM memory. Combined with the powerful ecosystem of ARM tools, these devices and tools enable OEMs to simplify development and accelerate time-to-market. The EM358x SoCs are tightly integrated with EmberZNet PRO, a ZigBee compliant mesh networking software that is the most deployed ZigBee platform in the market. Typical applications include smart energy, building automation, security and monitoring, home automation, and general ZigBee wireless sensor networking.Features
- Complete System-on-Chip:
- 32-bit ARM® Cortex-M3 processor
- 2.4 GHz IEEE 802.15.4-2003 transceiver & lower MAC
- 256 or 512kB flash, with optional read protection
- 32 or 64kB RAM memory
- AES128 encryption accelerator
- Flexible ADC, UART/SPI/TWI serial communications, and general-purpose timers
- Optional USB serial communications
- 24 highly configurable GPIOs with Schmitt trigger inputs
- ARM® Cortex M3 processor:
- Highly-efficient Thumb-2 instruction set
- Operation at 6, 12, or 24MHz
- Flexible Nested Vectored Interrupt Controller
- Low power consumption and advanced management:
- Rx Current (w/ CPU): 27mA
- Tx Current (w/ CPU, +3dBm TX): 32mA
- Low deep sleep current, with retained RAM and GPIO: 1.0μA without/1.25μA with sleep timer
- Low-frequency internal RC oscillator for low-power sleep timing
- High-frequency internal RC oscillator for fast (110μsec) processor start-up from sleep
- RF performance:
- Normal mode link budget up to 103dB; configurable up to 110dB
- 100dBm normal RX sensitivity; configurable to -102dBm (1% PER, 20 byte packet)
- +3dB normal mode output power; configurable up to +8dBm
- Robust Wi-Fi and Bluetooth coexistence
- Network and processor debug:
- Packet Trace Port for non-intrusive packet trace with Ember development tools
- Serial Wire/JTAG interface
- Standard ARM debug capabilities: Flash Patch & Breakpoint; Data Watchpoint & Trace; Instrumentation Trace Macrocell
- Advanced debugging with ARM Embedded Trace Macrocell
- Application flexibility:
- Single voltage operation: 2.1-3.6V with internal 1.8V and 1.25V regulators
- Optional 32.768kHz crystal for higher timer accuracy
- Low external component count with a single 24MHz crystal
- Support for external power amplifier
- Small 7mm x 7mm 48-pin QFN package
Applications
- Smart energy
- Home automation
- Security Monitoring and Automation (SMA)
- Lighting controls
- Building automation
- Industrial automation
Block Diagram
公開: 2014-03-11
| 更新済み: 2022-03-11
