STMicroelectronics VNHD7012 38A HブリッジDCモータ・ドライバ
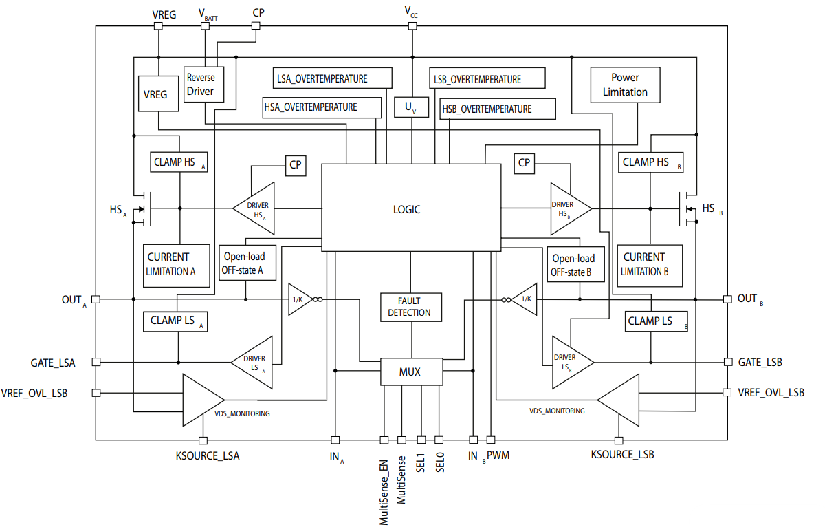
STMicroelectronics VNHD7012 38A HブリッジDCモータ・ドライバは、車載アプリケーションに使用されています。このドライバには、2台の外付けパワーMOSFETに加えてドライバと保護機能に加えて、完全に保護されたデュアル・ハイサイド・ドライバが統合されており、ローサイド構成になっています。このデバイスは、PowerSSO-36露出パッド・パッケージに格納されており、消費性能を最適化できます。入力信号INAおよびINBは、マイクロコントローラと直接インターフェイス接続し、モータの方向とブレーキ状態を選択できます。特徴
- AEC-Q100認定
- 出力電流: 38A
- デュアル完全保護HSD(マルチセンス・フィードバック機能搭載)
- 外部LSD用の2つの統合ドライバ
- 3V CMOS互換入力
- 保護:
- 低電圧シャットダウン
- 過電圧クランプ
- サーマルシャットダウン
- 負荷電流制限
- 高速熱過渡の自己制限(電力制限)
- クロス電流保護
- シュートスルー保護
- 接地損失およびVCC損失
- 静電放電保護
- 外付け抵抗(短絡対バッテリ保護)によって構成できる外部パワーMOSFETのドレインとソース電圧監視
- 外付けLSDを対象とした最大20kHzのPWM動作
- マルチセンス監視機能
- アナログ・モータ電流フィードバック
- チップ温度モニタリング
- バッテリ電圧モニタリング
- マルチセンス診断機能
- 接地検出のための出力ショート
- サーマルシャットダウン表示
- オフ状態オープン負荷検出
- VCC検出ショート出力
- スタンバイモード
- ハーフブリッジ動作
- 逆バッテリ保護を目的とした充電ポンプ出力
- パッケージ: ECOPACK®
ブロック図
公開: 2018-12-10
| 更新済み: 2023-02-23
