STMicroelectronics ISO808ガルバニック絶縁8チャンネルドライバ
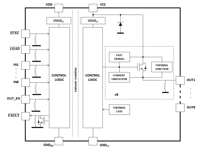
STMicroelectronics ISO808ガルバニック絶縁8チャンネルドライバは、片側がグラウンドに接続されているあらゆる負荷を駆動するように設計されています。各ドライバは、ガルバニック絶縁された2つの独立した電圧ドメイン(プロセスロジック段と制御ロジック段用のVCC とVDD)を備えています。これらのドライバは、低電源電流、最大45Vのプロセス段電源電圧、チャネルあたり0.125Ω(代表値)のオン状態抵抗RDS(ON) 、IC出力ディセーブル用リセット機能、高いコモンモード過渡耐性、および出力チャネルの短絡保護を提供します。ISO808ドライバはまた、各チャネルの熱独立性によるチャネルごとの過熱保護、ケース過熱保護、過電圧保護、GNDおよびVCC の断線保護を提供します。ISO808ドライバには、過熱(OVCイベント)からチップ全体を保護する追加のケース温度センサが搭載されています。過負荷になっていないチャンネルは、通常動作を続けます。また、これらのドライバは、グラウンド断線保護、VCC とVDD のUVLO(ヒステリシス付き)、組み込みウォッチドッグ機能も搭載しています。ISO808ドライバは、プログラマブル・ロジック制御、産業用PC周辺入力/出力、数値制御機で使用されています。
特徴
- 誘導負荷の高速消磁:VDEMAG(TYP) = VCC - 54V
- 低プロセスとロジック側電源電流
- 自動再起動とヒステリシスを用いた低電圧シャットダウン
- ロジック側5Vおよび3.3V TTL/CMOSおよびMCU互換I/O
- 共通出力有効/無効ピン
- IC出力のリセット機能無効
- 高コモンモード過渡電圧耐性
- チャンネル毎の過温度保護(個別チャンネルの熱的独立性あり)
- ケースの過熱保護
- 過電圧保護(VCC クランプ)
- GNDおよびVCC 断線保護
- 一般的な障害のオープンドレイン診断
- IEC 61000-4-2、IEC 61000- 4-4、IEC 61000-4-5、IEC 61000-4-8に適合するように設計
- UL1577およびUL508認証
- PowerSO-36パッケージ
仕様
- プロセス段の最大電源電圧:45V
- 幅広いプロセス側の動作電圧範囲:9.2VCC 〜36VCC
- チャンネルあたりのON状態抵抗 RDS(ON):0.125Ω(代表値)
- 出力チャンネルの短絡保護:
- ISO808 ILIM(MIN) = 0.7A
- ISO808-1 ILIM(MIN) = 1A
- チャンネルあたりのプロセス側動作電流:
- ISO808 IOUT <0.7A
- ISO808-1 IOUT <1A
アプリケーション
- あらゆる種類の負荷に対応するドライブ:
- 抵抗性
- 容量性
- 誘導性
- プログラマブルロジック制御
- 産業用PCペリフェラル入出力
- 数値制御マシン
ブロック図
公開: 2023-01-20
| 更新済み: 2025-08-08
