STMicroelectronics ISO8200AQガルバニック絶縁8チャンネルドライバ
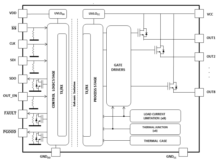
STMicroelectronics ISO8200AQガルバニック絶縁8チャンネル・ドライバは、非常に小さい供給電流が特徴で、2つの独立したガルバニック絶縁電圧領域が含まれています。これらには、プロセスと制御ロジック段のためのVCCおよびVDDがあります。ICは、片側を接地したあらゆる種類の負荷を駆動することを目的としています。制御ロジック段は、8ビット出力のステータス・レジスタが特徴です。これは、μCがプロセス段の出力チャンネルのステータスON/OFFを設定する場所です。8ビット障害レジスタによって、各チャンネルのOVT障害を保存できます。これら2つの段は、ST独自のプロトコルによるガルバニック絶縁チャンネルを介して通信します。特徴
- Vdemag = VCC - 45V (チャンネル当たり)
- RDS(on) = 0.11Ω (チャンネル当たり)
- IOUT = 0.7A (チャンネル当たり)
- VCC = 45V
- デイジーチェーン接続を用いたSPIインターフェイス
- 5Vおよび3.3V TTL/CMOSならびにμC互換I/O
- 共通出力有効/無効ピン
- 誘導負荷の高速消磁
- IC出力のリセット機能無効
- 超低供給電圧
- 低電圧シャットダウン、自動再起動とヒステリシス
- 短絡保護
- チャンネル毎の過温度上昇保護
- 個々のチャネルの熱自立性
- ケース温度過昇保護
- 接地と電源保護の喪失
- 過電圧保護(VCCクランピング)
- コモンフォールト・オープンドレイン出力
- パワーGOODオープン・ドレイン出力
- 高コモンモード過渡電圧耐性
- ESD保護
アプリケーション
- プログラマブルロジック制御
- 工業用PC周辺装置の入力/出力
- 数値制御マシン
- あらゆる種類の負荷(抵抗、容量性、誘導)用ドライバ
ブロック図
ビデオ
公開: 2019-04-23
| 更新済み: 2024-02-20
